专利数据库
统计分析
产业报告
专利数据监控
产业人才
行业动态
产业政策法规
维权援助
个人中心
详情
文本
图像
标题
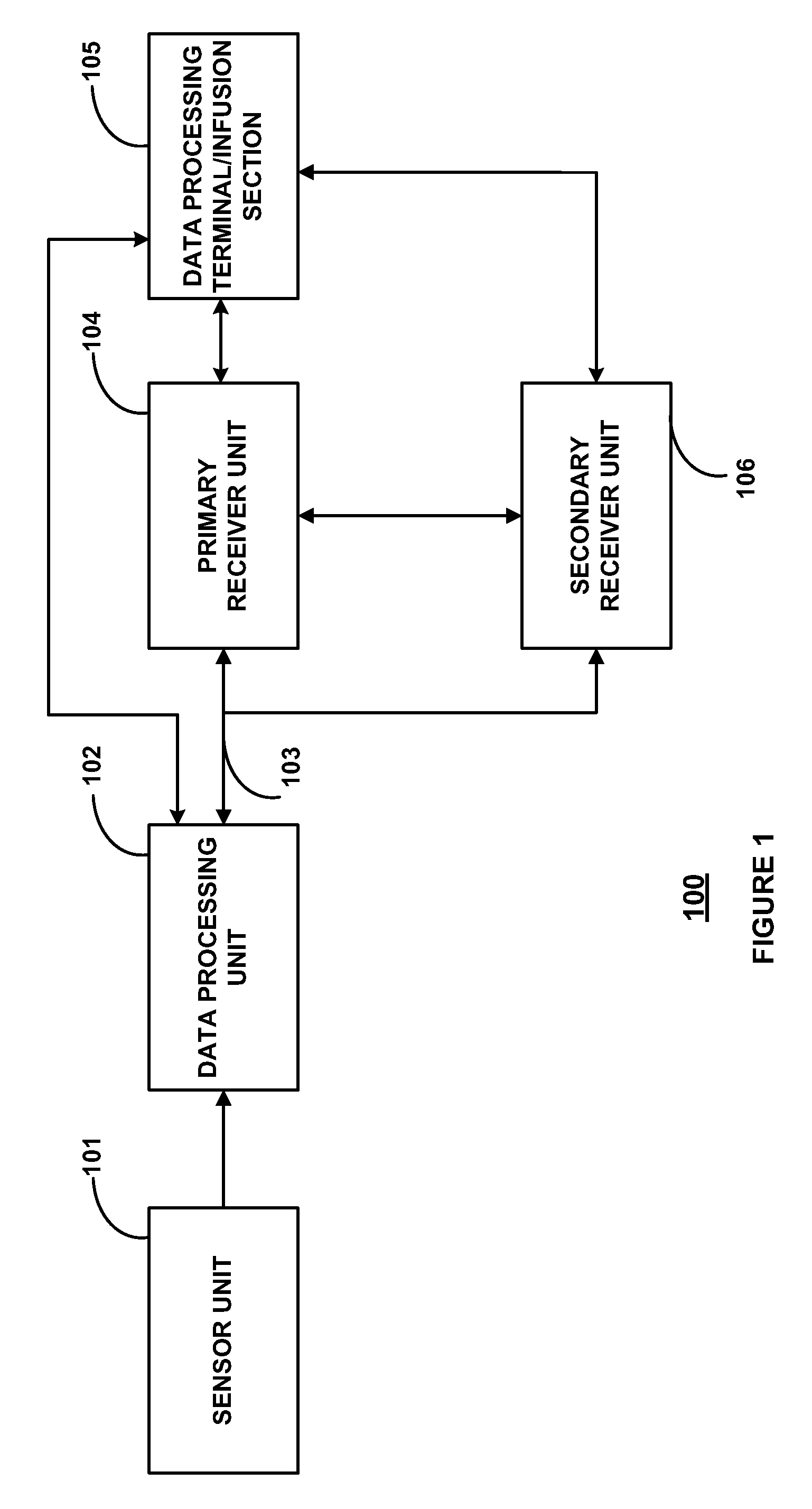
Method and device for providing offset model based calibration for analyte sensor
授权日
2012-07-17
公开(公告)号
US8224415
申请日
2009-01-29
公开(公告)日
2012-07-17
当前申请(专利权)人
ABBOTT DIABETES CARE, INC.
发明人
BUDIMAN, ERWIN SATRYA
简单同族
EP2381838A1 | EP2381838A4 | US10089446 | US20100191085A1 | US20120283960A1 | US20140005968A1 | US20190035488A1 | US8224415 | US8532935 | WO2010088569A1
简单同族成员数量
10
简单同族被引用专利总数
211
诉讼案件数
0
法律状态/事件
授权 | 权利转移
抱歉,您的浏览器不支持PDF预览,请点击链接下载PDF文件