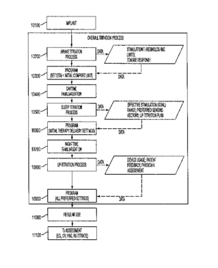
Obstructive sleep apnea treatment devices, systems and methods
授权日
2018-03-13
公开(公告)号
US9913982
申请日
2011-05-12
公开(公告)日
2018-03-13
当前申请(专利权)人
CYBERONICS, INC.
发明人
BOLEA, STEPHEN L. | HOEGH, THOMAS B. | KUHNLEY, BRIAN D. | SUILMANN, DALE G. | PERSSON, BRUCE J. | BECK, JOHN P. | HAUSCHILD, SIDNEY F. | TESFAYESUS, WONDIMENEH | SKUBITZ, JASON J. | BOSSHARD, MARK R. | PARRISH, DANIEL A. | ATKINSON, ROBERT E.