专利数据库
统计分析
产业报告
专利数据监控
产业人才
行业动态
产业政策法规
维权援助
个人中心
详情
文本
图像
标题
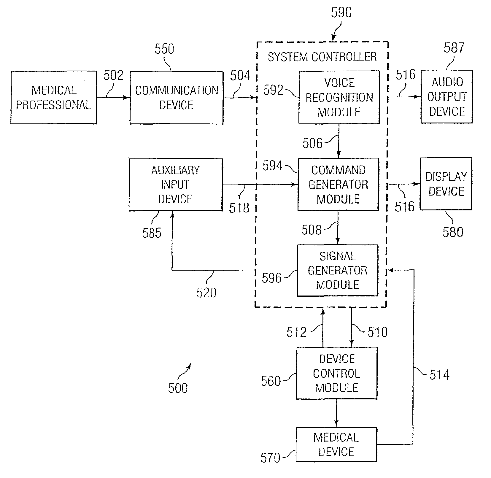
System and method for voice control of medical devices
授权日
2014-03-25
公开(公告)号
US8679011
申请日
2012-06-25
公开(公告)日
2014-03-25
当前申请(专利权)人
OMNI MEDSCI, INC.
发明人
ISLAM, MOHAMMED, N.
简单同族
US10004402 | US20100069723A1 | US20110175989A1 | US20120113997A1 | US20120296181A1 | US20130274569A1 | US20140171768A1 | US20140371555A1 | US20150265151A1 | US20160374560A1 | US20180028061A1 | US20180296096A1 | US7259906 | US7433116 | US7633673 | US8098423 | US8472108 | US8679011 | US8848282 | US9055868 | US9456750 | US9456751 | US9770174
简单同族成员数量
23
简单同族被引用专利总数
195
诉讼案件数
0
法律状态/事件
授权 | 权利转移
抱歉,您的浏览器不支持PDF预览,请点击链接下载PDF文件