专利数据库
统计分析
产业报告
专利数据监控
产业人才
行业动态
产业政策法规
维权援助
个人中心
详情
文本
图像
标题
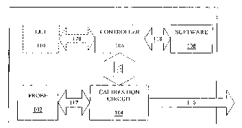
System and method for a self-calibrating non-invasive sensor
授权日
2006-10-17
公开(公告)号
US7124048
申请日
2004-12-08
公开(公告)日
2006-10-17
当前申请(专利权)人
MEDTOR, LLC
发明人
DIETIKER, THOMAS
简单同族
US20030033102A1 | US20060122801A1 | US6889153 | US7124048
简单同族成员数量
4
简单同族被引用专利总数
173
诉讼案件数
0
法律状态/事件
授权 | 质押 | 权利转移
抱歉,您的浏览器不支持PDF预览,请点击链接下载PDF文件