专利数据库
统计分析
产业报告
专利数据监控
产业人才
行业动态
产业政策法规
维权援助
个人中心
详情
文本
图像
标题
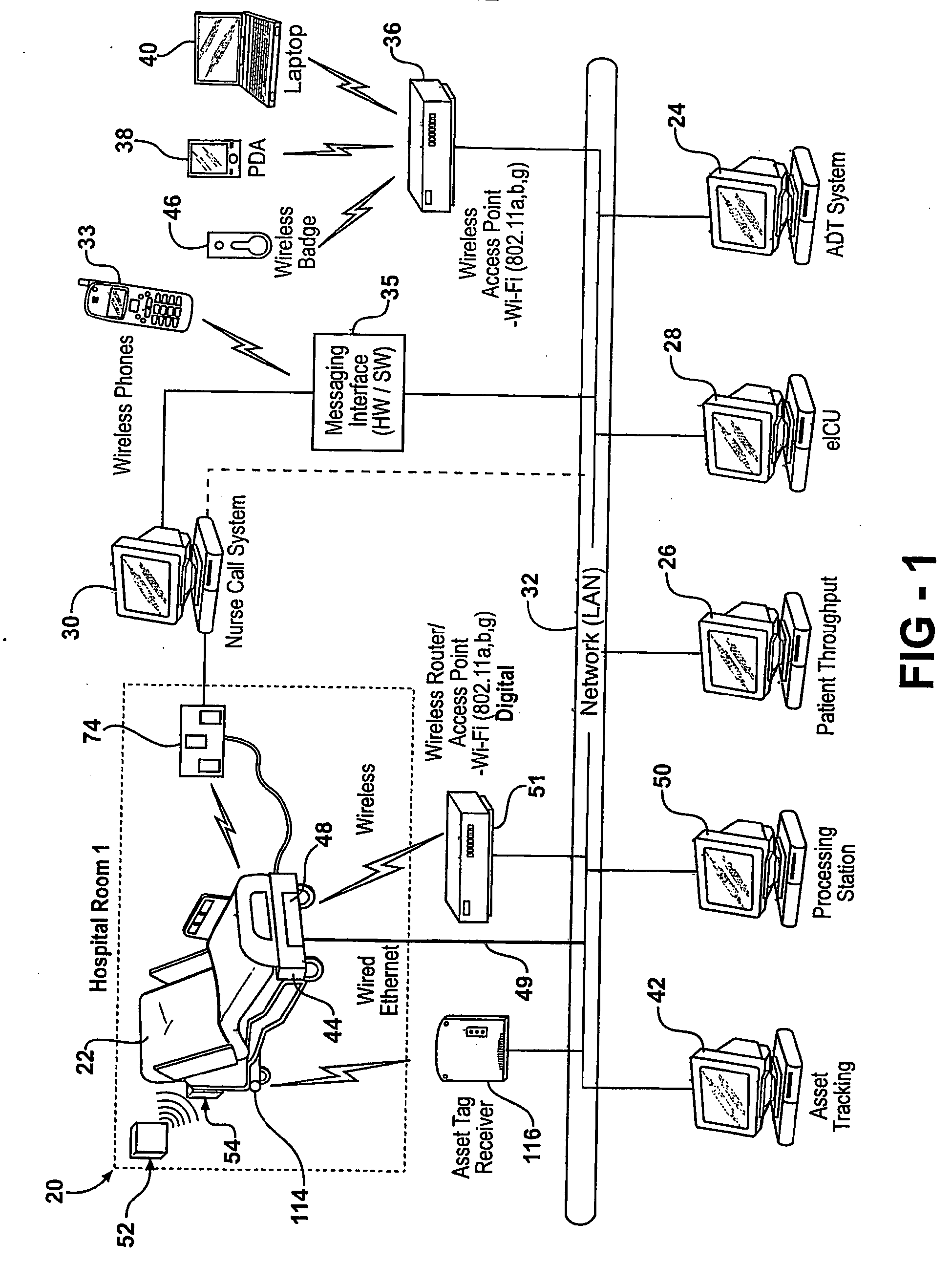
Location detection system for a patient handling device
授权日
2011-08-10
公开(公告)号
EP1865833B1
申请日
2006-03-29
公开(公告)日
2011-08-10
当前申请(专利权)人
STRYKER CANADIAN MANAGEMENT INC.
发明人
BECKER, DAVID, TERRANCE | MACDONALD, BRUCE, L. | MROZ, JOSEPH, E. | HAYES, MICHAEL, JOSEPH | HOPPER, CHRISTOPHER, JOHN | MAYORAS, RICHARD, C., JR. | STRYKER, MARTIN, W. | SHANKAR, VIVEK | DIONNE, JEAN-PAUL
简单同族
AT519421T | AU2006230344A1 | AU2006230344A8 | CA2603107A1 | CA2603107C | CN101287405A | CN101287405B | DK1865833T3 | EP1865833A1 | EP1865833B1 | EP1865833B2 | JP2008537502A | KR101313407B1 | KR1020070116930A | PL1865833T3 | PT1865833E | US20060279427A1 | US20100079304A1 | US20120176221A1 | US20120235830A1 | US20130076490A1 | US7598853 | US8102254 | US8319633 | US8461982 | US8674826 | WO2006105269A1
简单同族成员数量
27
简单同族被引用专利总数
191
诉讼案件数
0
法律状态/事件
授权 | 异议
抱歉,您的浏览器不支持PDF预览,请点击链接下载PDF文件