专利数据库
统计分析
产业报告
专利数据监控
产业人才
行业动态
产业政策法规
维权援助
个人中心
详情
文本
图像
标题
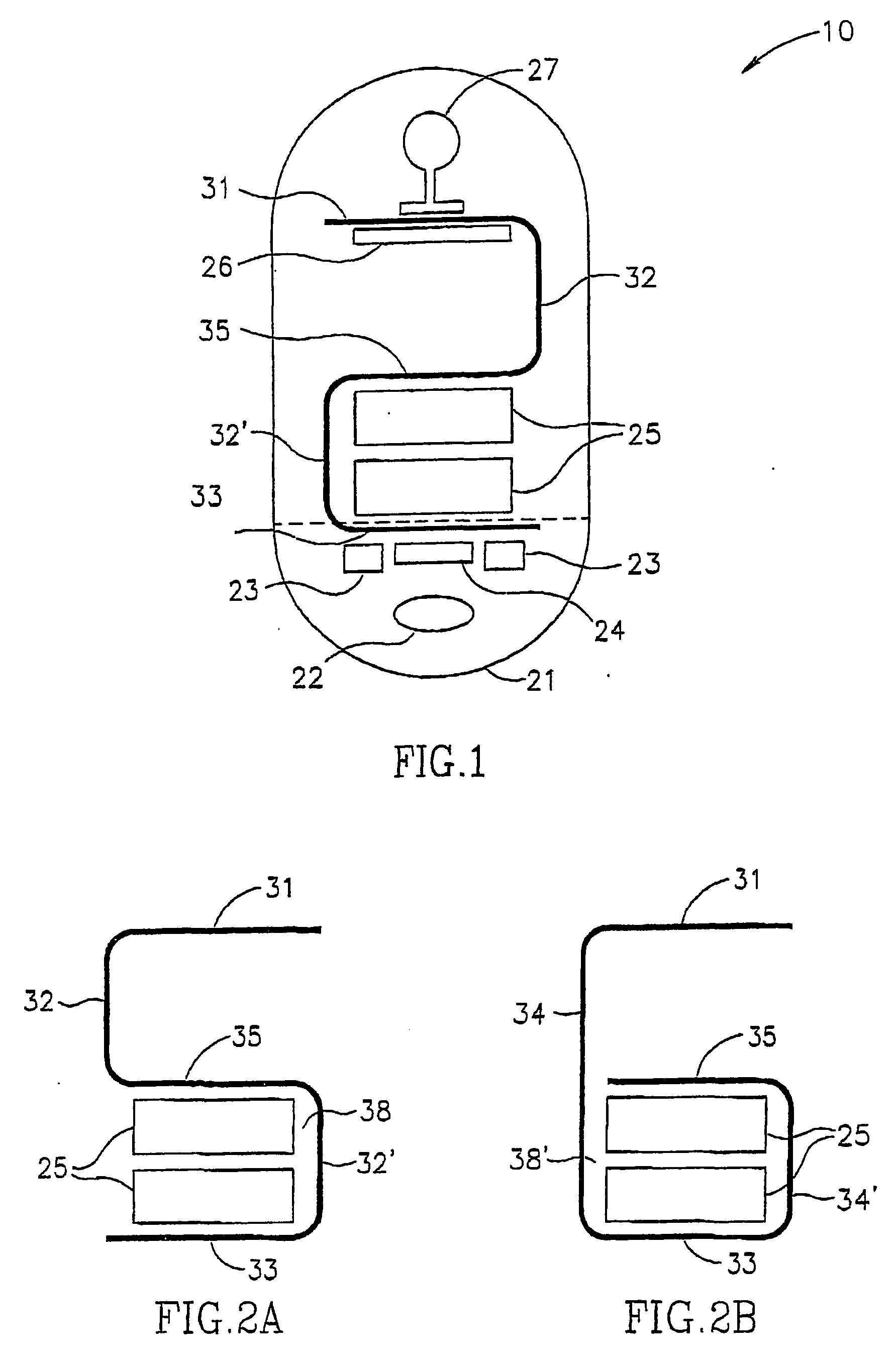
Swallowable in vivo sensing capsule with a circuit board having rigid sections and flexible sections
授权日
2008-08-13
公开(公告)号
EP1418833B1
申请日
2002-06-18
公开(公告)日
2008-08-13
当前申请(专利权)人
GIVEN IMAGING LTD.
发明人
AVNI, DOV
简单同族
AT404114T | AT546086T | AU2002311613A1 | DE60228266D1 | EP1418833A2 | EP1418833A4 | EP1418833B1 | EP1982636A1 | EP1982636B1 | EP1982636B2 | IL159450A | IL159450D0 | JP2004533879A | JP2004533879A5 | JP2006297119A | JP4256256B2 | JP4751772B2 | US20040171914A1 | US7998065 | WO2002102224A2 | WO2002102224A3
简单同族成员数量
21
简单同族被引用专利总数
228
诉讼案件数
0
法律状态/事件
授权 | 权利转移
抱歉,您的浏览器不支持PDF预览,请点击链接下载PDF文件