专利数据库
统计分析
产业报告
专利数据监控
产业人才
行业动态
产业政策法规
维权援助
个人中心
详情
文本
图像
标题
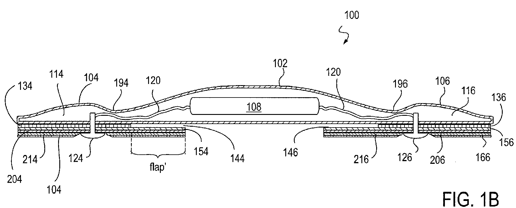
Device features and design elements for long-term adhesion
授权日
1900-01-01
公开(公告)号
EP3387991A1
申请日
2011-05-12
公开(公告)日
2018-10-17
当前申请(专利权)人
IRHYTHM TECHNOLOGIES, INC.
发明人
KUMAR,, UDAY, N. | LIVINGSTON,, PETER, H. | DAY,, MARK, J. | PARK,, SHENA, H. | WILLIS,, WILLIAM, F. | RIGHTER,, WILLIAM, H.
简单同族
AU2011252998A1 | AU2011252998B2 | CA2797980A1 | CA2797980C | DK2568878T3 | EP2568878A2 | EP2568878A4 | EP2568878B1 | EP3165161A1 | EP3165161B1 | EP3387991A1 | ES2692658T3 | JP2013531512A | JP2014236982A | JP2017080439A | JP2019115699A | JP2019115699A5 | JP5559425B2 | JP6491826B2 | JP6495228B2 | KR101513288B1 | KR1020130045271A | US10405799 | US10517500 | US20110279963A1 | US20120310070A1 | US20130245415A1 | US20160135746A1 | US20190021671A1 | US20200121209A1 | US8538503 | US8560046 | US9241649 | WO2011143490A2 | WO2011143490A3
简单同族成员数量
35
简单同族被引用专利总数
186
诉讼案件数
0
法律状态/事件
公开
抱歉,您的浏览器不支持PDF预览,请点击链接下载PDF文件