专利数据库
统计分析
产业报告
专利数据监控
产业人才
行业动态
产业政策法规
维权援助
个人中心
详情
文本
图像
标题
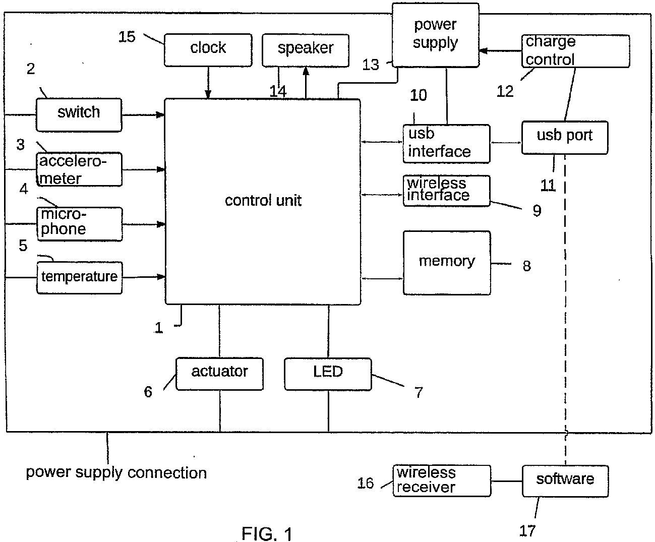
Apparatus for sleep posture correction
授权日
1900-01-01
公开(公告)号
EP2987474A3
申请日
2010-05-04
公开(公告)日
2016-04-06
当前申请(专利权)人
NIGHTBALANCE B.V.
发明人
VAN BEEST, ELINE CHRISTIANE
简单同族
AU2010352596A1 | AU2010352596B2 | AU2010352596C1 | CA2796835A1 | CA2796835C | CA2918032A1 | CA2918032C | CA3012029A1 | CN103025279A | CN103025279B | DK2566423T3 | EP2566423A1 | EP2566423B1 | EP2987474A2 | EP2987474A3 | ES2550268T3 | JP2013528425A | JP5824037B2 | PL2566423T3 | US20130043999A1 | US9060880 | WO2011139141A1
简单同族成员数量
22
简单同族被引用专利总数
44
诉讼案件数
0
法律状态/事件
实质审查 | 权利转移
抱歉,您的浏览器不支持PDF预览,请点击链接下载PDF文件