专利数据库
统计分析
产业报告
专利数据监控
产业人才
行业动态
产业政策法规
维权援助
个人中心
详情
文本
图像
标题
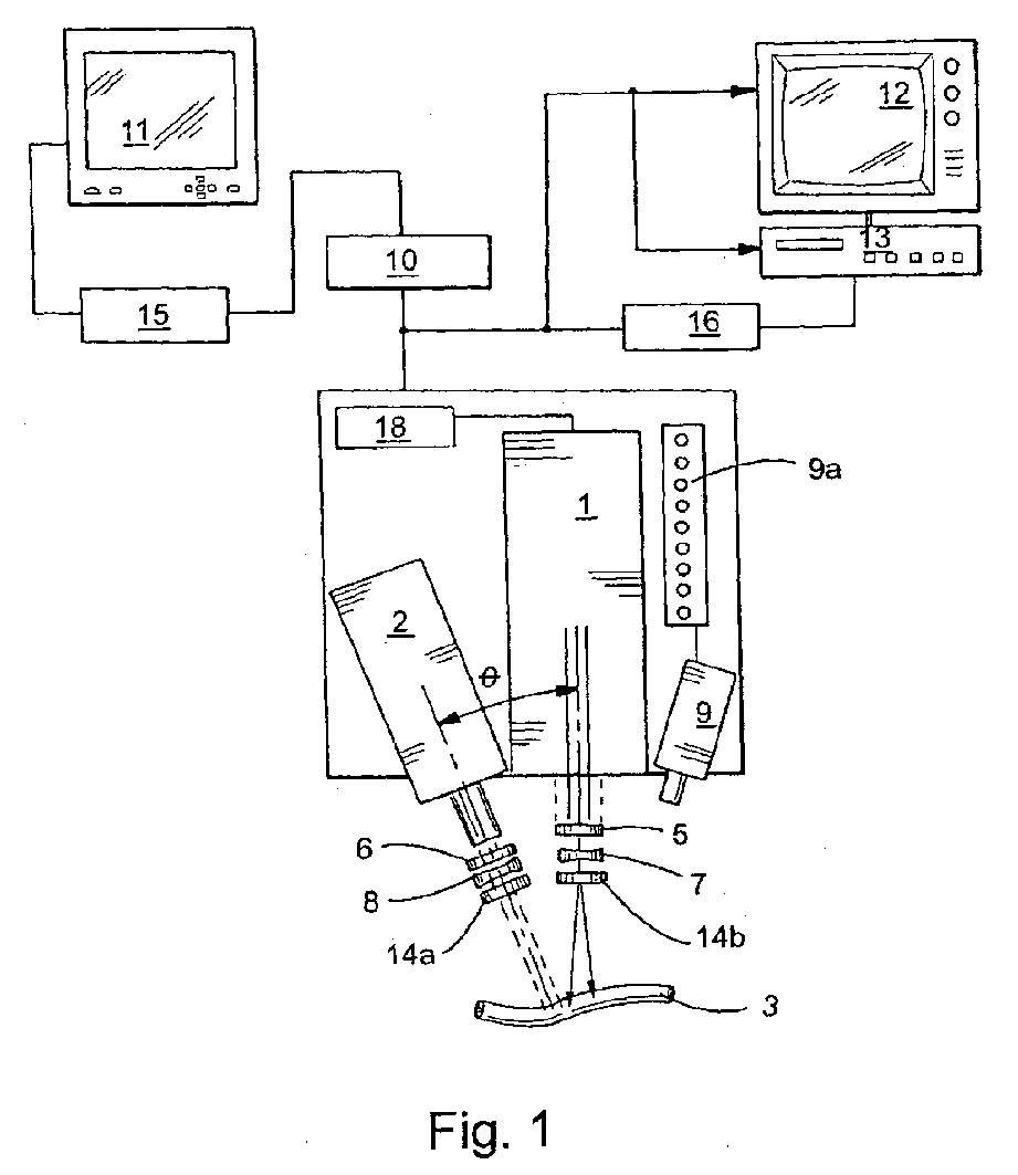
Method and apparatus for performing intra-operative angiography
授权日
1900-01-01
公开(公告)号
EP2281503A3
申请日
2000-08-11
公开(公告)日
2011-06-29
当前申请(专利权)人
NATIONAL RESEARCH COUNCIL OF CANADA
发明人
DOHERTY, JOHN C. | HEWKO, MARK | MANGAT, GURPREET | FLOWER, ROBERT W. | CHARI, SESHADRI M.
简单同族
AT375749T | AT506005T | AU2000067675A1 | AU782257B2 | BRPI0014289A2 | CA2339214A1 | CA2339214C | CN101264014A | CN101264014B | CN101406392A | CN101406392B | CN1399528A | DE60036781D1 | DE60036781T2 | DE60045880D1 | DK1143852T3 | DK2910185T3 | EP1143852A1 | EP1143852A4 | EP1143852B1 | EP1849408A2 | EP1849408A3 | EP1852061A1 | EP1852063A1 | EP1852063B1 | EP2281503A2 | EP2281503A3 | EP2281503B1 | EP2910185A1 | EP2910185B1 | ES2292463T3 | ES2666182T3 | HK1040897A | HK1040897A1 | HK1107924A | HK1108612A | HK1108612A1 | HK1108613A | HK1214115A | HK1214115A1 | JP2003510121A | JP2003510121A5 | JP2006192280A | JP2006192280A5 | JP2011147797A | JP3881550B2 | JP5081992B2 | KR100737620B1 | KR1020020064287A | MXPA02003064A | PT1143852E | PT2910185T | WO2001022870A1
简单同族成员数量
53
简单同族被引用专利总数
125
诉讼案件数
0
法律状态/事件
授权
抱歉,您的浏览器不支持PDF预览,请点击链接下载PDF文件