专利数据库
统计分析
产业报告
专利数据监控
产业人才
行业动态
产业政策法规
维权援助
个人中心
详情
文本
图像
标题
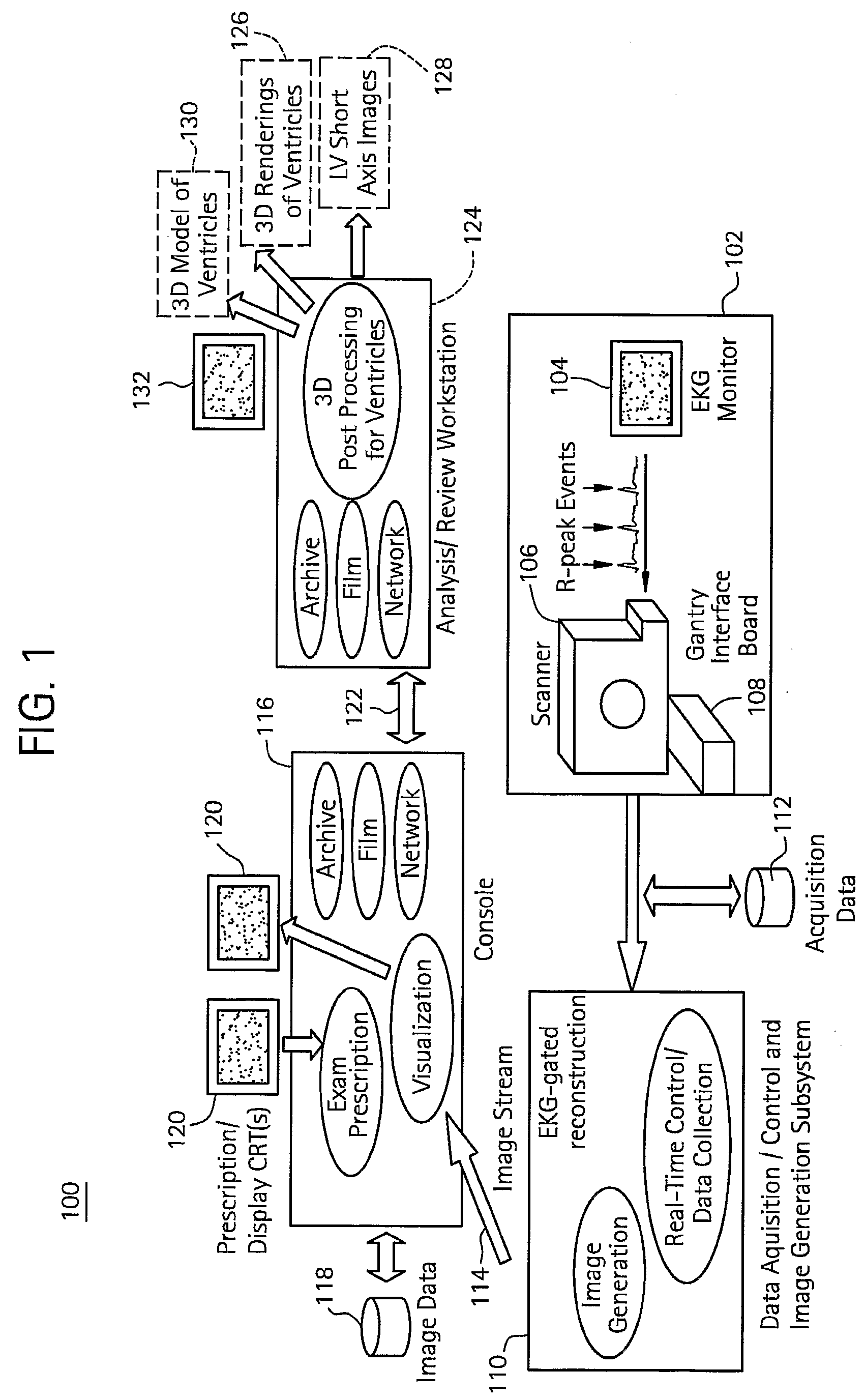
Cardiac imaging system for planning surgery
授权日
2016-04-06
公开(公告)号
EP1643911B1
申请日
2004-06-30
公开(公告)日
2016-04-06
当前申请(专利权)人
GENERAL ELECTRIC COMPANY
发明人
OKERLUND, DARIN, ROBERT | SRA, JASBIR | LAUNAY, LAURENT | VASS, MELISSA
简单同族
CN1842298A | CN1842298B | EP1643911A1 | EP1643911B1 | JP2007528747A | JP4524284B2 | US20050004443A1 | US7813785 | WO2005004721A1
简单同族成员数量
9
简单同族被引用专利总数
179
诉讼案件数
0
法律状态/事件
权利终止
抱歉,您的浏览器不支持PDF预览,请点击链接下载PDF文件