专利数据库
统计分析
产业报告
专利数据监控
产业人才
行业动态
产业政策法规
维权援助
个人中心
详情
文本
图像
标题
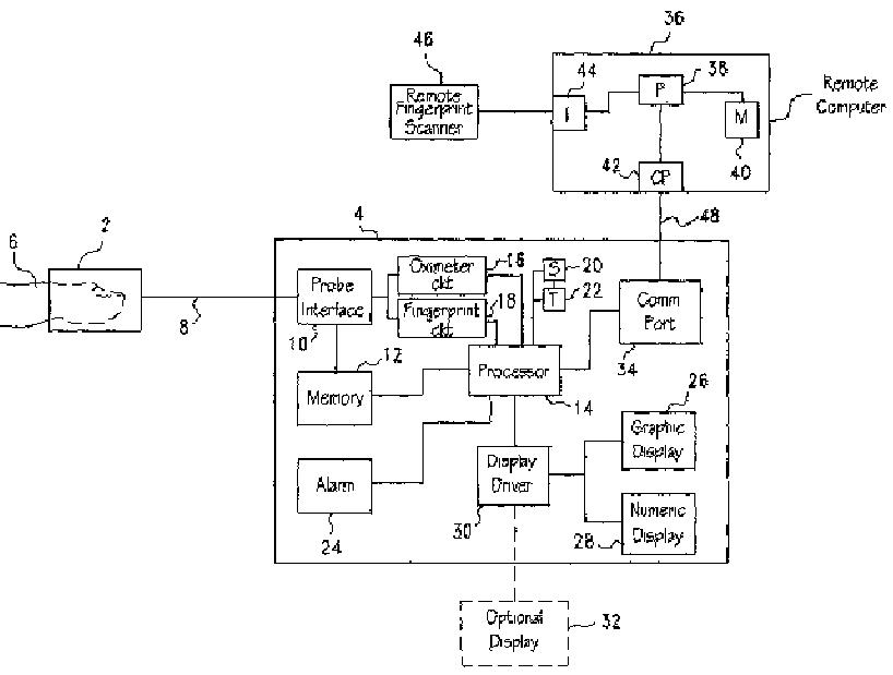
指紋装置とオキシメータ装置とを組み合わせた装置
授权日
1900-01-01
公开(公告)号
JP2005536282A
申请日
2003-08-14
公开(公告)日
2005-12-02
当前申请(专利权)人
スミスズ メディカル ピーエム インコーポレイテッド
发明人
フランク カタロウ
简单同族
AU2003259837A1 | CA2496359A1 | CN100396231C | CN1688246A | EP1545300A1 | EP1545300A4 | HK1081831A | HK1081831A1 | JP2005536282A | JP4662767B2 | KR1020050067385A | US6643531 | WO2004017828A1
简单同族成员数量
13
简单同族被引用专利总数
176
诉讼案件数
0
法律状态/事件
未缴年费 | 权利转移
抱歉,您的浏览器不支持PDF预览,请点击链接下载PDF文件