专利数据库
统计分析
产业报告
专利数据监控
产业人才
行业动态
产业政策法规
维权援助
个人中心
详情
文本
图像
标题
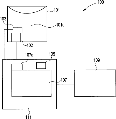
监测容器中参数的系统和方法
授权日
1900-01-01
公开(公告)号
CN101449133A
申请日
2006-09-28
公开(公告)日
2009-06-03
当前申请(专利权)人
通用电气医疗集团生物科学公司
发明人
R·A·波蒂雷洛 | V·F·皮兹 | 王华
简单同族
CN101449133A | CN101449133B | EP2021742A1 | JP2009538433A | JP2009538433A5 | JP5203357B2 | US20080012577A1 | US20110166812A1 | US7775083 | US8468871 | WO2007139574A1
简单同族成员数量
11
简单同族被引用专利总数
176
诉讼案件数
0
法律状态/事件
授权 | 复审
抱歉,您的浏览器不支持PDF预览,请点击链接下载PDF文件