专利数据库
统计分析
产业报告
专利数据监控
产业人才
行业动态
产业政策法规
维权援助
个人中心
详情
文本
图像
标题
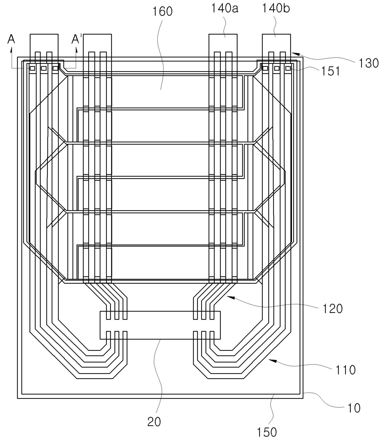
발명의 명칭 OLED 소자용 COG 패널
授权日
2014-06-26
公开(公告)号
KR101414501B1
申请日
2012-09-10
公开(公告)日
2014-07-03
当前申请(专利权)人
네오뷰코오롱 주식회사
发明人
경충현 | 안희철 | 김대용 | 임우빈
简单同族
KR101414501B1 | KR1020140034380A
简单同族成员数量
2
简单同族被引用专利总数
0
诉讼案件数
0
法律状态/事件
授权
抱歉,您的浏览器不支持PDF预览,请点击链接下载PDF文件