专利数据库
统计分析
产业报告
专利数据监控
产业人才
行业动态
产业政策法规
维权援助
个人中心
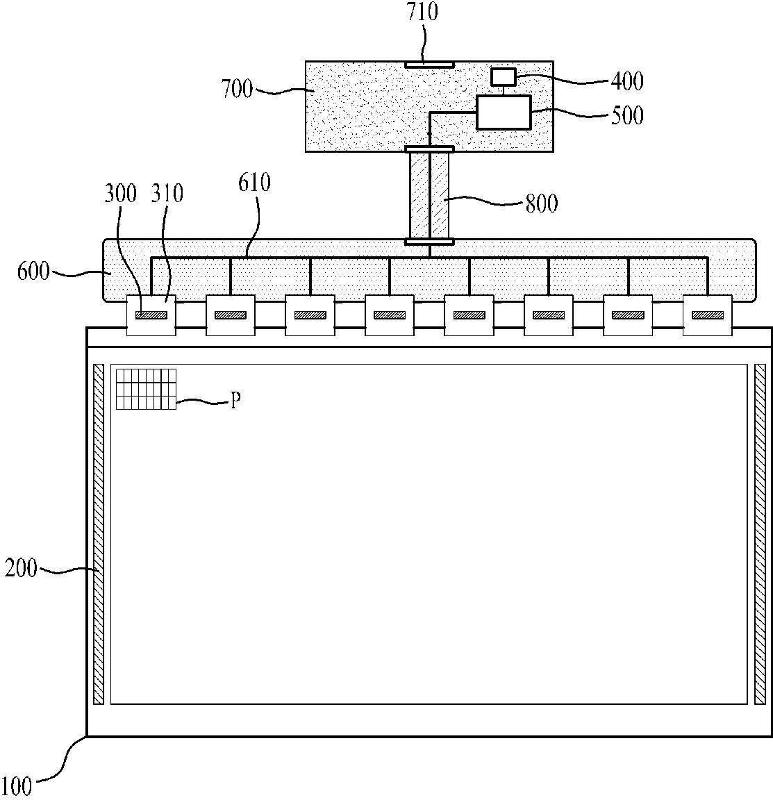
详情
文本
图像
标题
유기 발광 표시 장치 및 이의 구동 방법
授权日
2019-06-19
公开(公告)号
KR101992665B1
申请日
2012-12-26
公开(公告)日
2019-06-25
当前申请(专利权)人
엘지디스플레이 주식회사
发明人
정재훈 | 윤재환
简单同族
CN103903582A | CN103903582B | JP2014126873A | JP5781145B2 | KR101992665B1 | KR1020140083680A | TW201426716A | TWI520120B | US20140176622A1 | US9202411
简单同族成员数量
10
简单同族被引用专利总数
69
诉讼案件数
0
法律状态/事件
授权
抱歉,您的浏览器不支持PDF预览,请点击链接下载PDF文件