专利数据库
统计分析
产业报告
专利数据监控
产业人才
行业动态
产业政策法规
维权援助
个人中心
详情
文本
图像
标题
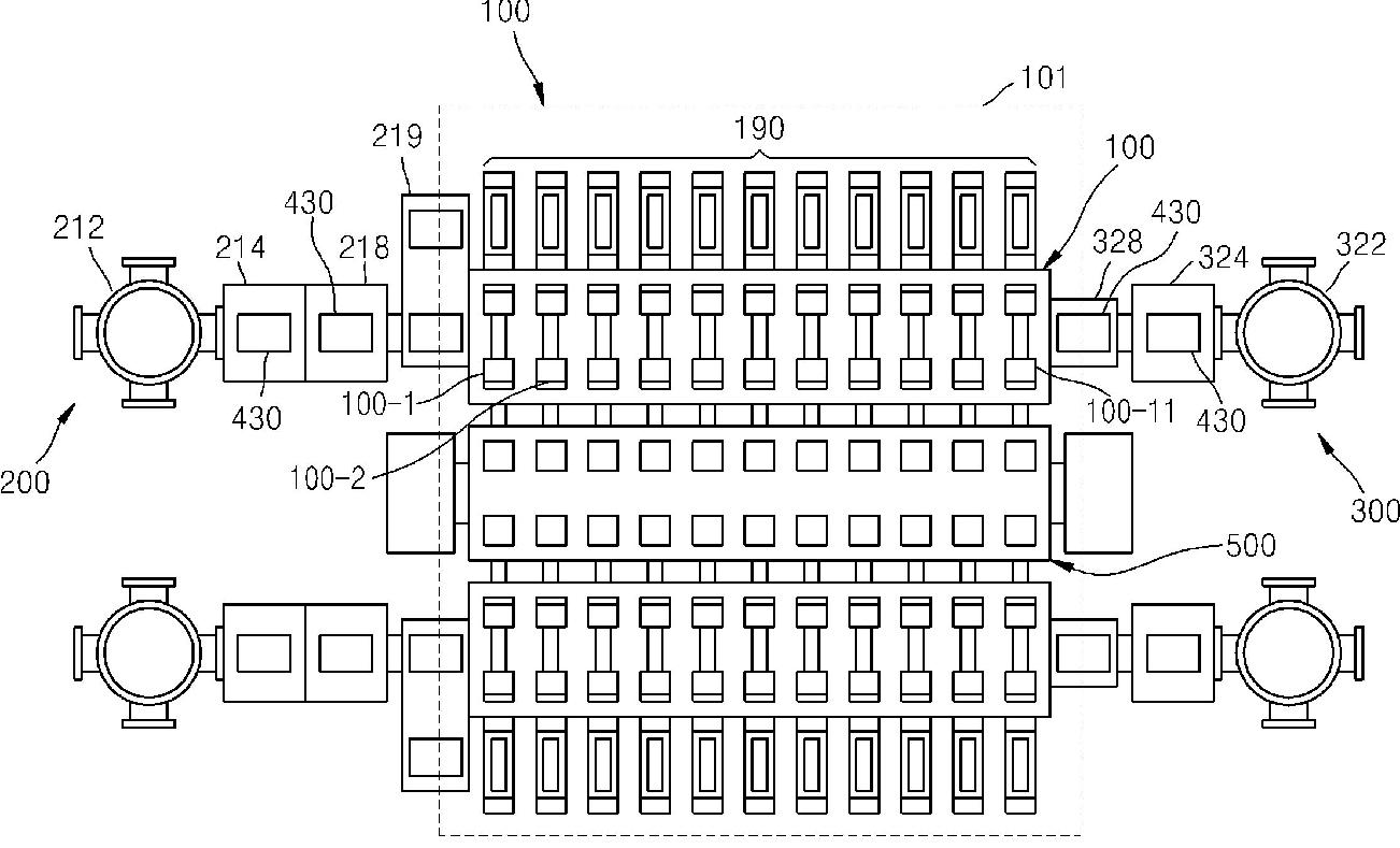
유기층 증착 장치, 이를 이용한 유기 발광 디스플레이 장치의 제조 방법 및 이에 따라 제조된 유기 발광 디스플레이 장치
授权日
2019-08-23
公开(公告)号
KR102015872B1
申请日
2012-06-22
公开(公告)日
2019-10-22
当前申请(专利权)人
삼성디스플레이 주식회사
发明人
장윤호 | 김태용 | 윤미주
简单同族
CN103515543A | CN103515543B | CN203351668U | DE102012222927A1 | JP2014005536A | JP2014005536A5 | JP6272662B2 | KR1020140000041A | KR102015872B1 | TW201401609A | TWI594477B | US20130341598A1 | US9260778
简单同族成员数量
13
简单同族被引用专利总数
53
诉讼案件数
0
法律状态/事件
授权
抱歉,您的浏览器不支持PDF预览,请点击链接下载PDF文件