专利数据库
统计分析
产业报告
专利数据监控
产业人才
行业动态
产业政策法规
维权援助
个人中心
详情
文本
图像
标题
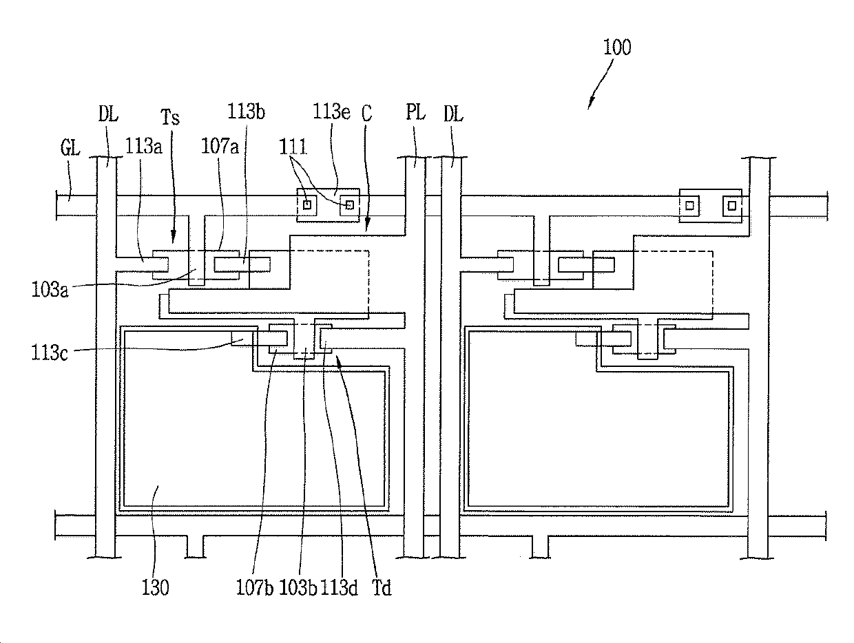
유기 전계 발광 표시장치 및 그 제조방법
授权日
2019-12-31
公开(公告)号
KR102063277B1
申请日
2013-08-14
公开(公告)日
2020-01-07
当前申请(专利权)人
엘지디스플레이 주식회사
发明人
서현식 | 김종우 | 조봉래
简单同族
KR1020150019667A | KR102063277B1
简单同族成员数量
2
简单同族被引用专利总数
0
诉讼案件数
0
法律状态/事件
授权
抱歉,您的浏览器不支持PDF预览,请点击链接下载PDF文件