专利数据库
统计分析
产业报告
专利数据监控
产业人才
行业动态
产业政策法规
维权援助
个人中心
详情
文本
图像
标题
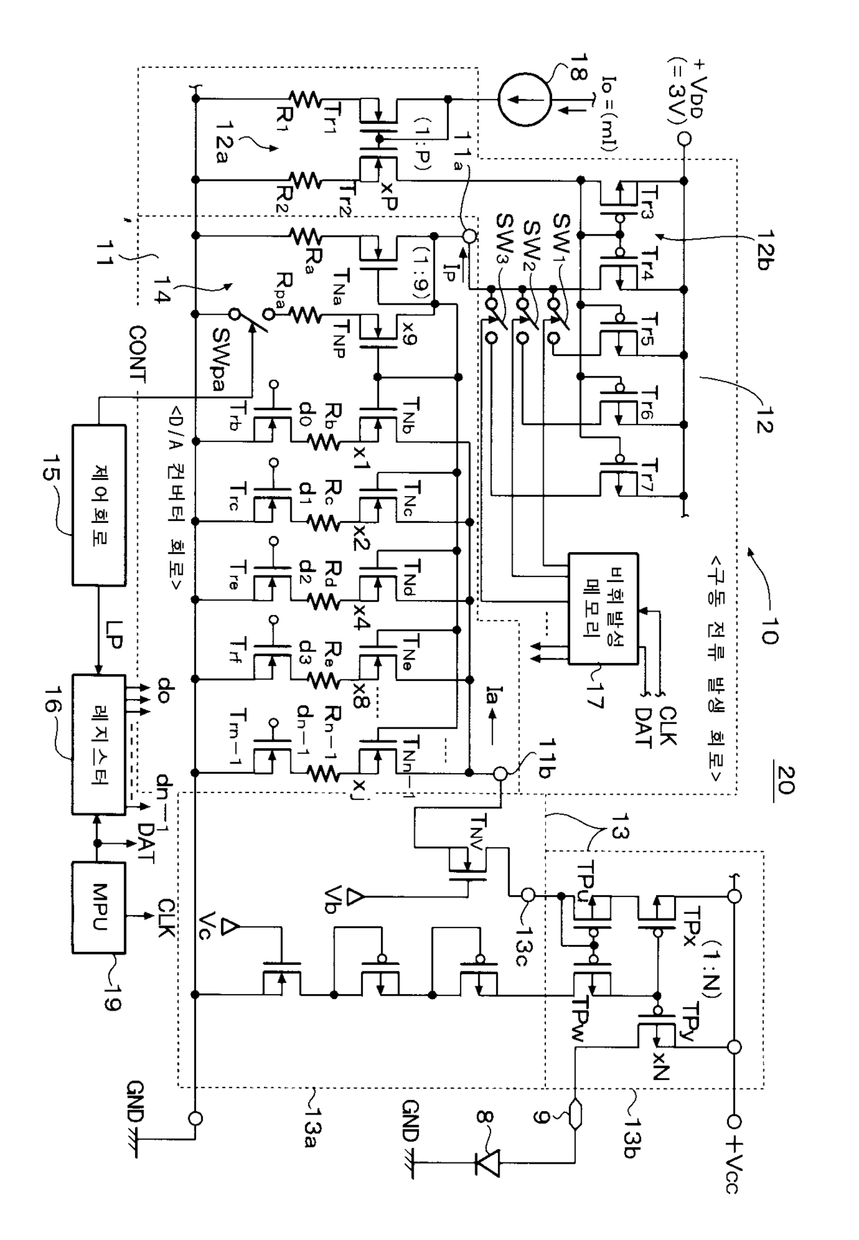
구동 전류 조절 회로, 이 구동 전류 조절 회로를 이용한유기 EL 소자 구동 회로 및 이 유기 EL 소
授权日
1900-01-01
公开(公告)号
KR1020030091820A
申请日
2003-05-27
公开(公告)日
2003-12-03
当前申请(专利权)人
로무 가부시키가이샤
发明人
ABE,SHINICHI
简单同族
JP2004054234A | JP3647443B2 | KR100507550B1 | KR1020030091820A | TW200401248A | TWI239499B | US20030223275A1 | US6972526
简单同族成员数量
8
简单同族被引用专利总数
57
诉讼案件数
0
法律状态/事件
授权
抱歉,您的浏览器不支持PDF预览,请点击链接下载PDF文件