专利数据库
统计分析
产业报告
专利数据监控
产业人才
行业动态
产业政策法规
维权援助
个人中心
详情
文本
图像
标题
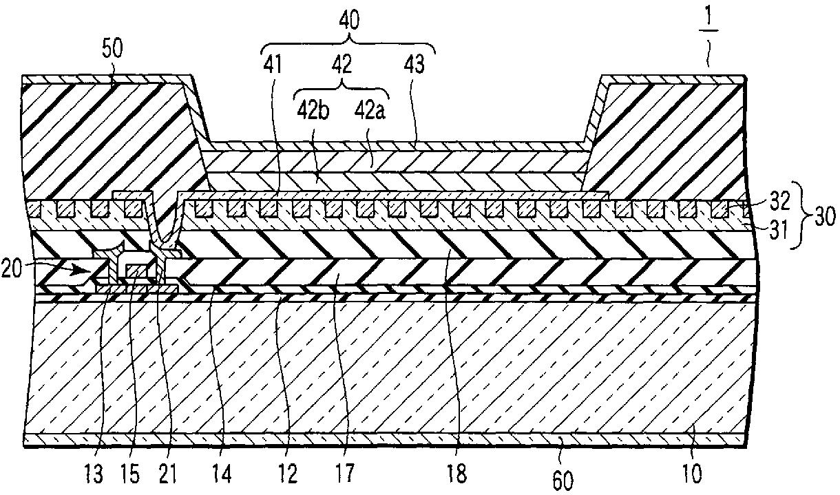
광학 디바이스 및 유기 EL 디스플레이
授权日
2007-08-22
公开(公告)号
KR100753257B1
申请日
2004-08-12
公开(公告)日
2007-08-29
当前申请(专利权)人
가부시키가이샤 저팬 디스플레이 센트럴 | 가부시끼가이샤 도시바
发明人
우에무라,쯔요시 | 오꾸따니,사또시 | 구보따,히로후미 | 아끼요시,무네하루 | 오까다,나오따다 | 도노따니,준이찌
简单同族
CN1806269A | EP1655707A1 | EP1655707A4 | JP2005063839A | KR100753257B1 | KR1020060027330A | TW200507691A | TWI241862B | US20060055319A1 | US7375463 | WO2005017861A1
简单同族成员数量
11
简单同族被引用专利总数
50
诉讼案件数
0
法律状态/事件
授权 | 权利转移
抱歉,您的浏览器不支持PDF预览,请点击链接下载PDF文件