专利数据库
统计分析
产业报告
专利数据监控
产业人才
行业动态
产业政策法规
维权援助
个人中心
详情
文本
图像
标题
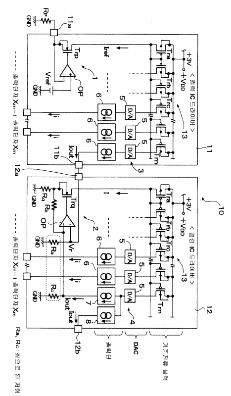
유기 EL 소자 구동 회로 및 유기 EL 표시 장치
授权日
2005-05-02
公开(公告)号
KR100488909B1
申请日
2003-03-26
公开(公告)日
2005-05-17
当前申请(专利权)人
로무 가부시키가이샤
发明人
마에데준 | 후지사와마사노리
简单同族
JP2003288045A | JP3742357B2 | KR100488909B1 | KR1020030078012A | TW200306519A | TWI282079B | US20030184236A1 | US20040169478A1 | US6747417 | US7026766
简单同族成员数量
10
简单同族被引用专利总数
100
诉讼案件数
0
法律状态/事件
未缴年费
抱歉,您的浏览器不支持PDF预览,请点击链接下载PDF文件