专利数据库
统计分析
产业报告
专利数据监控
产业人才
行业动态
产业政策法规
维权援助
个人中心
详情
文本
图像
标题
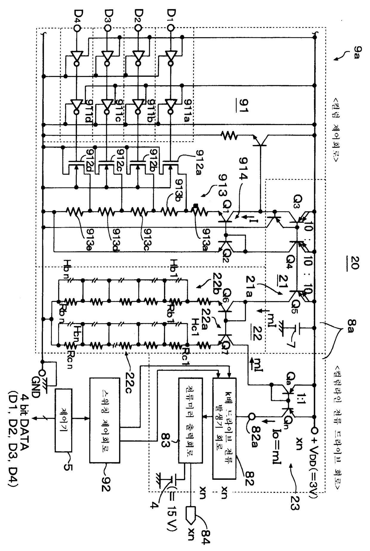
유기 EL 구동회로 및 이를 이용한 유기 EL 표시장치
授权日
2005-08-02
公开(公告)号
KR100507549B1
申请日
2002-03-25
公开(公告)日
2005-08-26
当前申请(专利权)人
로무 가부시키가이샤
发明人
기타하라신지 | 하나다고이치 | 마에데준 | 후지사와마사노리
简单同族
KR100507549B1 | KR1020020076146A | TW522754B | US20020135314A1 | US6586888
简单同族成员数量
5
简单同族被引用专利总数
87
诉讼案件数
0
法律状态/事件
授权
抱歉,您的浏览器不支持PDF预览,请点击链接下载PDF文件