专利数据库
统计分析
产业报告
专利数据监控
产业人才
行业动态
产业政策法规
维权援助
个人中心
详情
文本
图像
标题
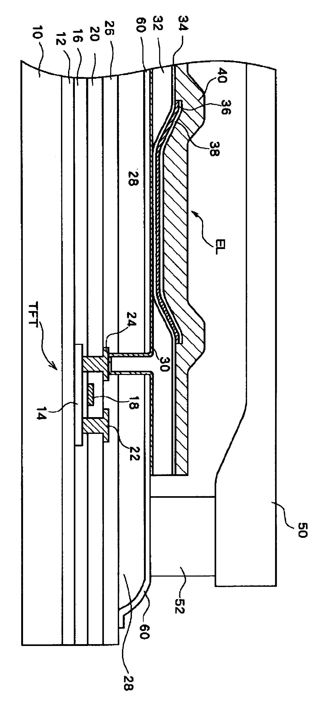
유기 EL 패널
授权日
1900-01-01
公开(公告)号
KR1020040010370A
申请日
2003-07-24
公开(公告)日
2004-01-31
当前申请(专利权)人
산요덴키가부시키가이샤
发明人
요네다기요시 | 니시까와류지
简单同族
CN100344010C | CN1481199A | JP2004063126A | JP4171258B2 | KR100517258B1 | KR1020040010370A | TW200402245A | TWI256857B | US20040069987A1 | US6924508
简单同族成员数量
10
简单同族被引用专利总数
60
诉讼案件数
0
法律状态/事件
授权
抱歉,您的浏览器不支持PDF预览,请点击链接下载PDF文件