专利数据库
统计分析
产业报告
专利数据监控
产业人才
行业动态
产业政策法规
维权援助
个人中心
详情
文本
图像
标题
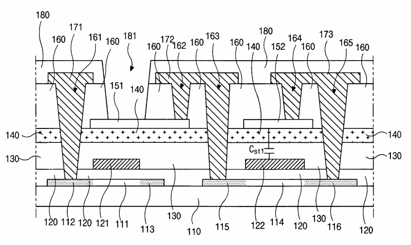
능동행렬 유기전기발광소자 및 그의 제조 방법
授权日
2004-03-24
公开(公告)号
KR100426031B1
申请日
2001-12-29
公开(公告)日
2004-04-03
当前申请(专利权)人
엘지디스플레이 주식회사
发明人
박재용 | 유준석
简单同族
KR100426031B1 | KR1020030058150A | US20030141811A1 | US20070202625A1 | US7227184 | US7622316
简单同族成员数量
6
简单同族被引用专利总数
114
诉讼案件数
0
法律状态/事件
授权
抱歉,您的浏览器不支持PDF预览,请点击链接下载PDF文件