专利数据库
统计分析
产业报告
专利数据监控
产业人才
行业动态
产业政策法规
维权援助
个人中心
详情
文本
图像
标题
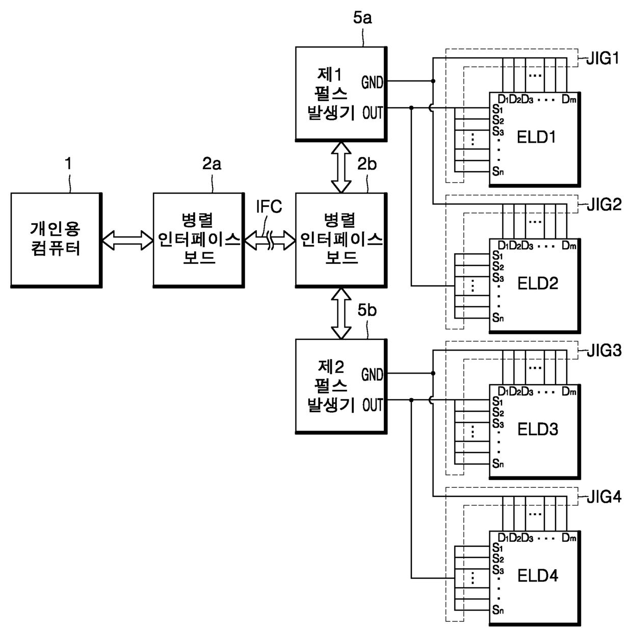
펄스 파형의 전압이 인가되는 전계발광 표시 패널의에이징 방법
授权日
2008-04-08
公开(公告)号
KR100822194B1
申请日
2002-01-22
公开(公告)日
2008-04-16
当前申请(专利权)人
삼성에스디아이 주식회사
发明人
이주원 | 손철식 | 허세준
简单同族
KR100822194B1 | KR1020030063548A
简单同族成员数量
2
简单同族被引用专利总数
0
诉讼案件数
0
法律状态/事件
授权 | 权利转移
抱歉,您的浏览器不支持PDF预览,请点击链接下载PDF文件