专利数据库
统计分析
产业报告
专利数据监控
产业人才
行业动态
产业政策法规
维权援助
个人中心
详情
文本
图像
标题
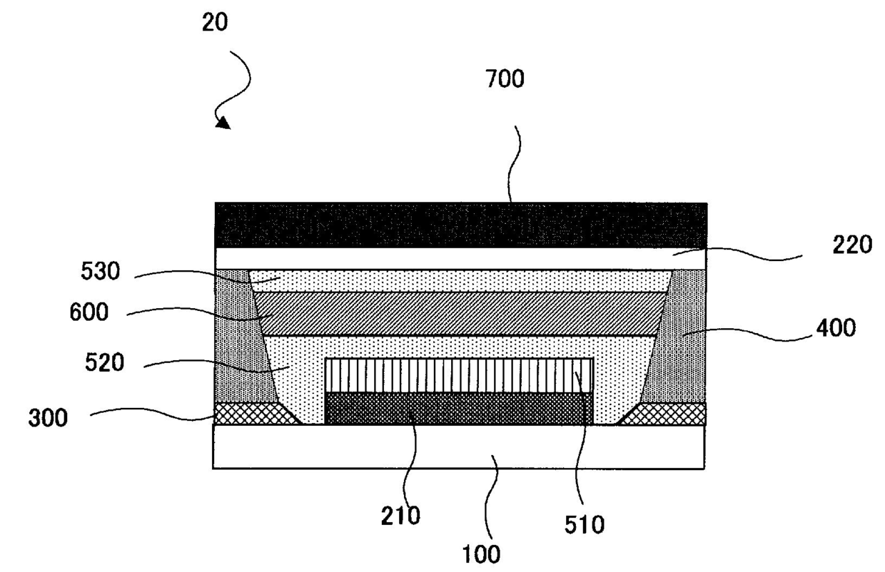
발명의 명칭 유기 EL 디바이스 및 EL 디스플레이 패널, 및 그 제조 방법
授权日
2012-08-03
公开(公告)号
KR101172794B1
申请日
2008-12-02
公开(公告)日
2012-08-09
当前申请(专利权)人
파나소닉 주식회사
发明人
나카타니,슈헤이 | 요시다,히데히로
简单同族
CN101855742A | CN101855742B | EP2221899A1 | EP2221899A4 | EP2221899B1 | JP2010021162A | JP4410313B2 | JP4456661B2 | JPWO2009075075A1 | KR101172794B1 | KR1020100087187A | US20100252857A1 | US8310152 | WO2009075075A1
简单同族成员数量
14
简单同族被引用专利总数
100
诉讼案件数
0
法律状态/事件
授权 | 权利转移
抱歉,您的浏览器不支持PDF预览,请点击链接下载PDF文件