专利数据库
统计分析
产业报告
专利数据监控
产业人才
行业动态
产业政策法规
维权援助
个人中心
详情
文本
图像
标题
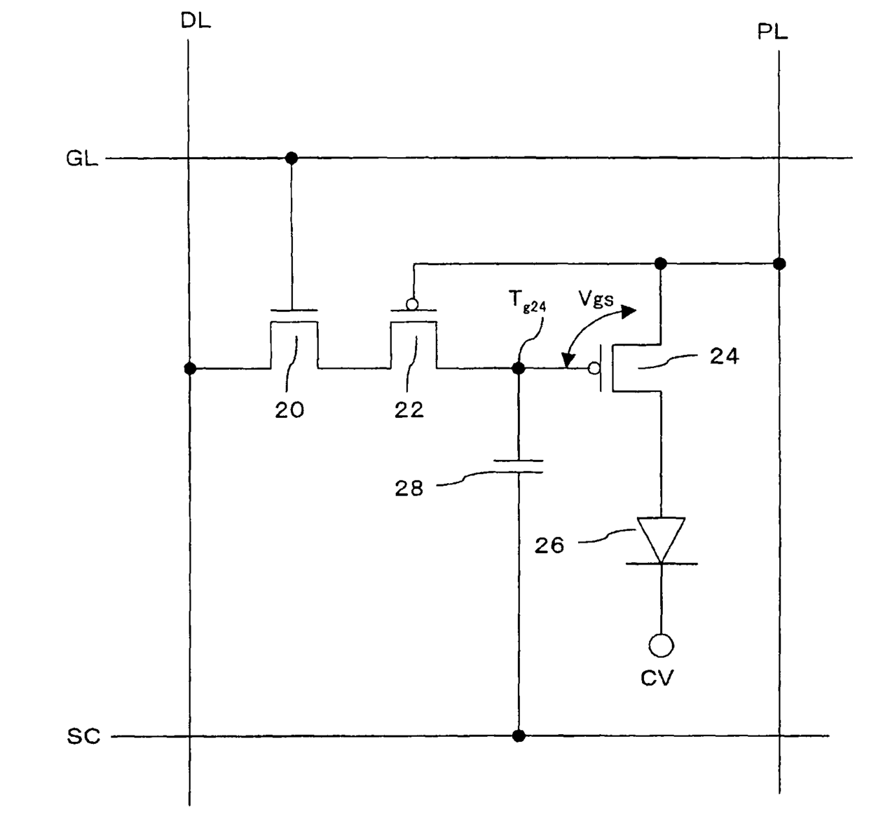
화소 회로 및 표시 장치
授权日
1900-01-01
公开(公告)号
KR1020060024347A
申请日
2004-11-08
公开(公告)日
2006-03-16
当前申请(专利权)人
산요덴키가부시키가이샤
发明人
고가,마사유끼 | 마루모,고지
简单同族
JP2005157266A | JP4180018B2 | KR100679199B1 | KR1020060024347A | TW200521918A | TWI296790B | US20060145960A1 | US7477218 | WO2005045796A1
简单同族成员数量
9
简单同族被引用专利总数
115
诉讼案件数
0
法律状态/事件
授权
抱歉,您的浏览器不支持PDF预览,请点击链接下载PDF文件