专利数据库
统计分析
产业报告
专利数据监控
产业人才
行业动态
产业政策法规
维权援助
个人中心
详情
文本
图像
标题
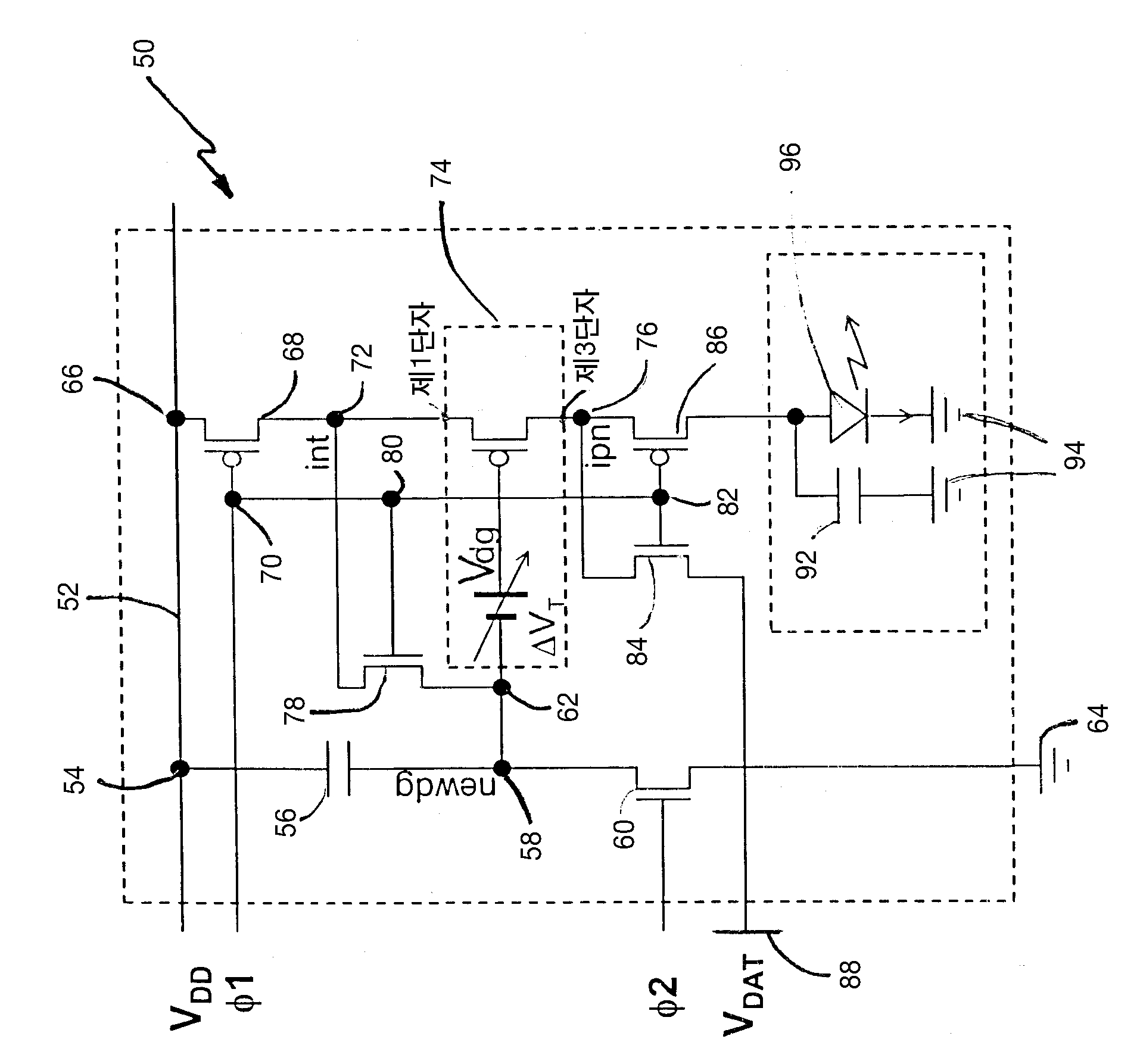
화소 회로
授权日
1900-01-01
公开(公告)号
KR1020060043376A
申请日
2005-03-03
公开(公告)日
2006-05-15
当前申请(专利权)人
세이코 엡슨 가부시키가이샤
发明人
TAM, SIMON
简单同族
CN100498902C | CN1664901A | DE602005006337D1 | DE602005006337T2 | EP1580722A2 | EP1580722A3 | EP1580722B1 | GB0404919D0 | GB2411758A | JP2005258436A | JP2005301290A | JP2009015345A | JP4289311B2 | JP4289321B2 | JP4697281B2 | KR100713679B1 | KR1020060043376A | TW200603048A | TWI277931B | US20050237281A1 | US7528808
简单同族成员数量
21
简单同族被引用专利总数
88
诉讼案件数
0
法律状态/事件
未缴年费
抱歉,您的浏览器不支持PDF预览,请点击链接下载PDF文件