专利数据库
统计分析
产业报告
专利数据监控
产业人才
行业动态
产业政策法规
维权援助
个人中心
详情
文本
图像
标题
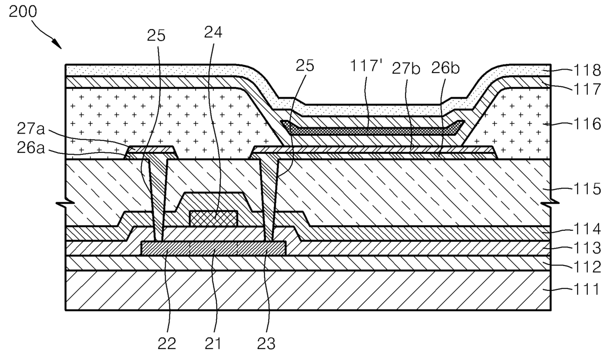
다층 구조의 애노드를 채용한 유기 발광 디스플레이 장치
授权日
2007-12-13
公开(公告)号
KR100787461B1
申请日
2006-11-10
公开(公告)日
2007-12-26
当前申请(专利权)人
삼성에스디아이 주식회사
发明人
권도현 | 유경진 | 전우식 | 강철규
简单同族
KR100787461B1 | US20080111484A1
简单同族成员数量
2
简单同族被引用专利总数
70
诉讼案件数
0
法律状态/事件
授权 | 权利转移
抱歉,您的浏览器不支持PDF预览,请点击链接下载PDF文件