专利数据库
统计分析
产业报告
专利数据监控
产业人才
行业动态
产业政策法规
维权援助
个人中心
详情
文本
图像
标题
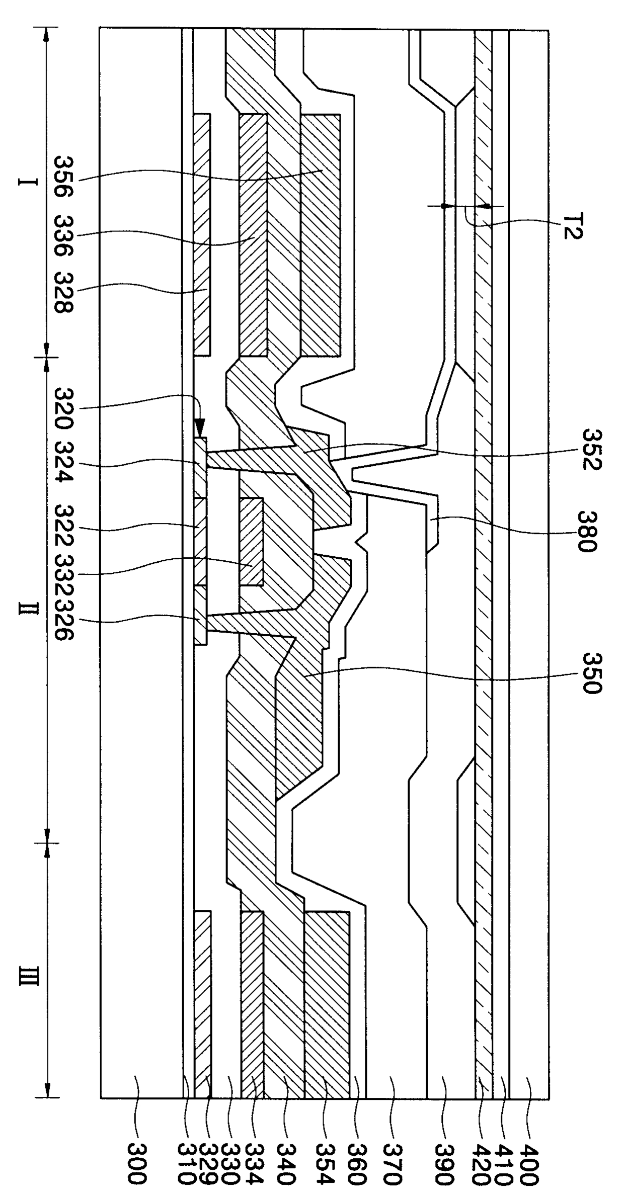
유기전계발광표시소자 및 그 제조방법
授权日
2007-03-21
公开(公告)号
KR100700642B1
申请日
2004-12-13
公开(公告)日
2007-03-27
当前申请(专利权)人
삼성에스디아이 주식회사
发明人
KANG,TAEWOOK
简单同族
CN100448017C | CN1790733A | DE602005017565D1 | EP1670081A2 | EP1670081A3 | EP1670081B1 | JP2006173617A | JP4690187B2 | KR100700642B1 | KR1020060066512A | US20060124933A1 | US20080293319A1 | US7408192 | US7867051
简单同族成员数量
14
简单同族被引用专利总数
88
诉讼案件数
0
法律状态/事件
授权 | 权利转移
抱歉,您的浏览器不支持PDF预览,请点击链接下载PDF文件