专利数据库
统计分析
产业报告
专利数据监控
产业人才
行业动态
产业政策法规
维权援助
个人中心
详情
文本
图像
标题
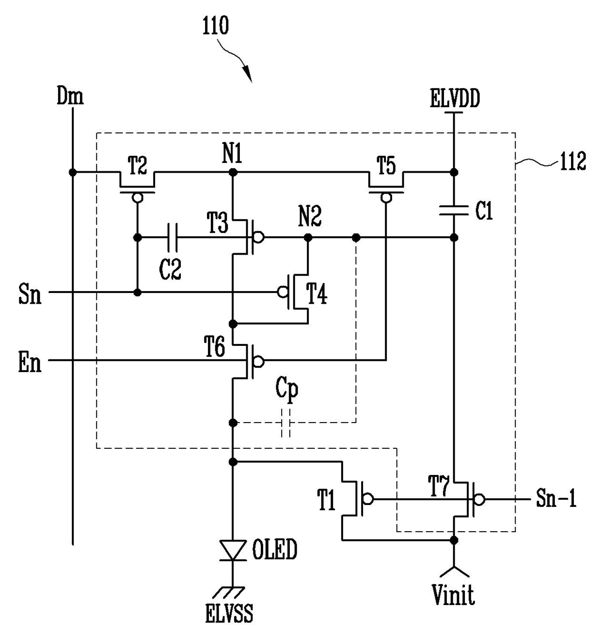
화소 및 이를 이용한 유기전계발광 표시장치
授权日
1900-01-01
公开(公告)号
KR1020100009219A
申请日
2008-07-18
公开(公告)日
2010-01-27
当前申请(专利权)人
삼성모바일디스플레이주식회사
发明人
곽원규
简单同族
CN101630481A | EP2146337A1 | JP2010026488A | KR1020100009219A | US20100013816A1 | US8237634
简单同族成员数量
6
简单同族被引用专利总数
125
诉讼案件数
0
法律状态/事件
驳回
抱歉,您的浏览器不支持PDF预览,请点击链接下载PDF文件