专利数据库
统计分析
产业报告
专利数据监控
产业人才
行业动态
产业政策法规
维权援助
个人中心
详情
文本
图像
标题
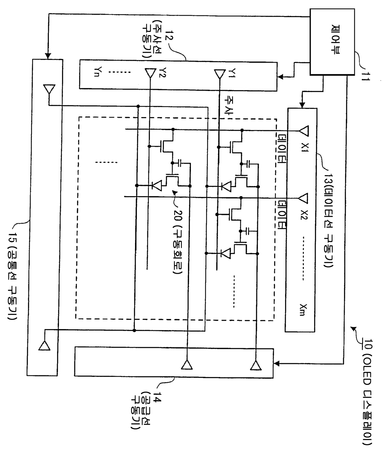
디스플레이 장치, OLED 패널, 박막 트랜지스터의 제어장치, 박막 트랜지스터의 제어 방법 및 OL
授权日
1900-01-01
公开(公告)号
KR1020030078668A
申请日
2003-03-24
公开(公告)日
2003-10-08
当前申请(专利权)人
탑폴리 옵토일렉트로닉스 코포레이션
发明人
츠지무라다카토시 | 미와고히치 | 모로오카미츠오
简单同族
CN1261917C | CN1448900A | JP2003302936A | KR100526267B1 | KR1020030078668A | TW200306509A | TW584824B | US20040001037A1 | US7091940
简单同族成员数量
9
简单同族被引用专利总数
55
诉讼案件数
0
法律状态/事件
未缴年费
抱歉,您的浏览器不支持PDF预览,请点击链接下载PDF文件