专利数据库
统计分析
产业报告
专利数据监控
产业人才
行业动态
产业政策法规
维权援助
个人中心
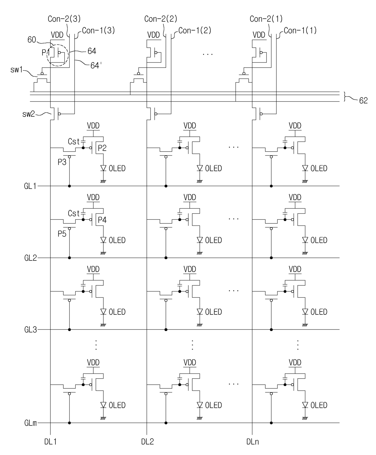
详情
文本
图像
标题
일렉트로 루미네센스 패널 및 그 구동방법
授权日
2006-09-06
公开(公告)号
KR100623841B1
申请日
2003-12-29
公开(公告)日
2006-09-18
当前申请(专利权)人
엘지디스플레이 주식회사
发明人
오두환 | 정훈주 | 정석희
简单同族
KR100623841B1 | KR1020050068227A
简单同族成员数量
2
简单同族被引用专利总数
0
诉讼案件数
0
法律状态/事件
授权
抱歉,您的浏览器不支持PDF预览,请点击链接下载PDF文件