专利数据库
统计分析
产业报告
专利数据监控
产业人才
行业动态
产业政策法规
维权援助
个人中心
详情
文本
图像
标题
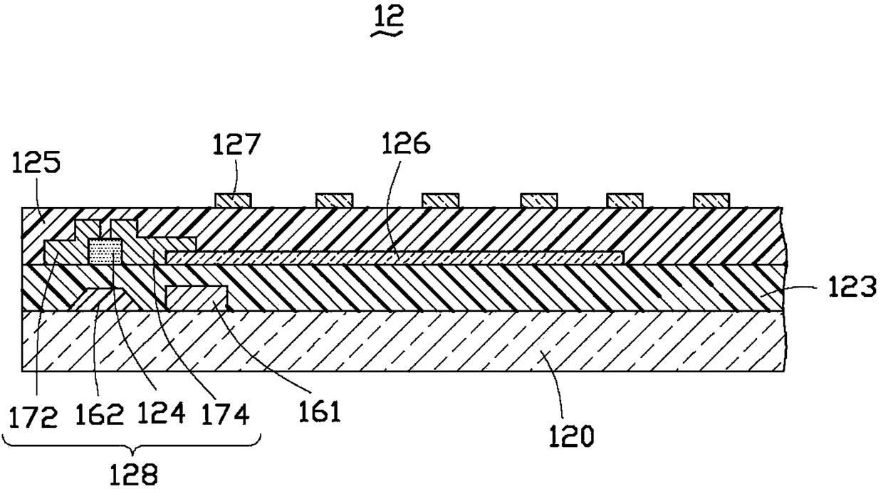
阵列基板及液晶显示面板
授权日
1900-01-01
公开(公告)号
CN104122717A
申请日
2013-09-13
公开(公告)日
2014-10-29
当前申请(专利权)人
深超光电(深圳)有限公司
发明人
柳智忠 | 王明宗 | 郑亦秀 | 熊园
简单同族
CN104122717A
简单同族成员数量
1
简单同族被引用专利总数
0
诉讼案件数
0
法律状态/事件
撤回
抱歉,您的浏览器不支持PDF预览,请点击链接下载PDF文件