专利数据库
统计分析
产业报告
专利数据监控
产业人才
行业动态
产业政策法规
维权援助
个人中心
详情
文本
图像
标题
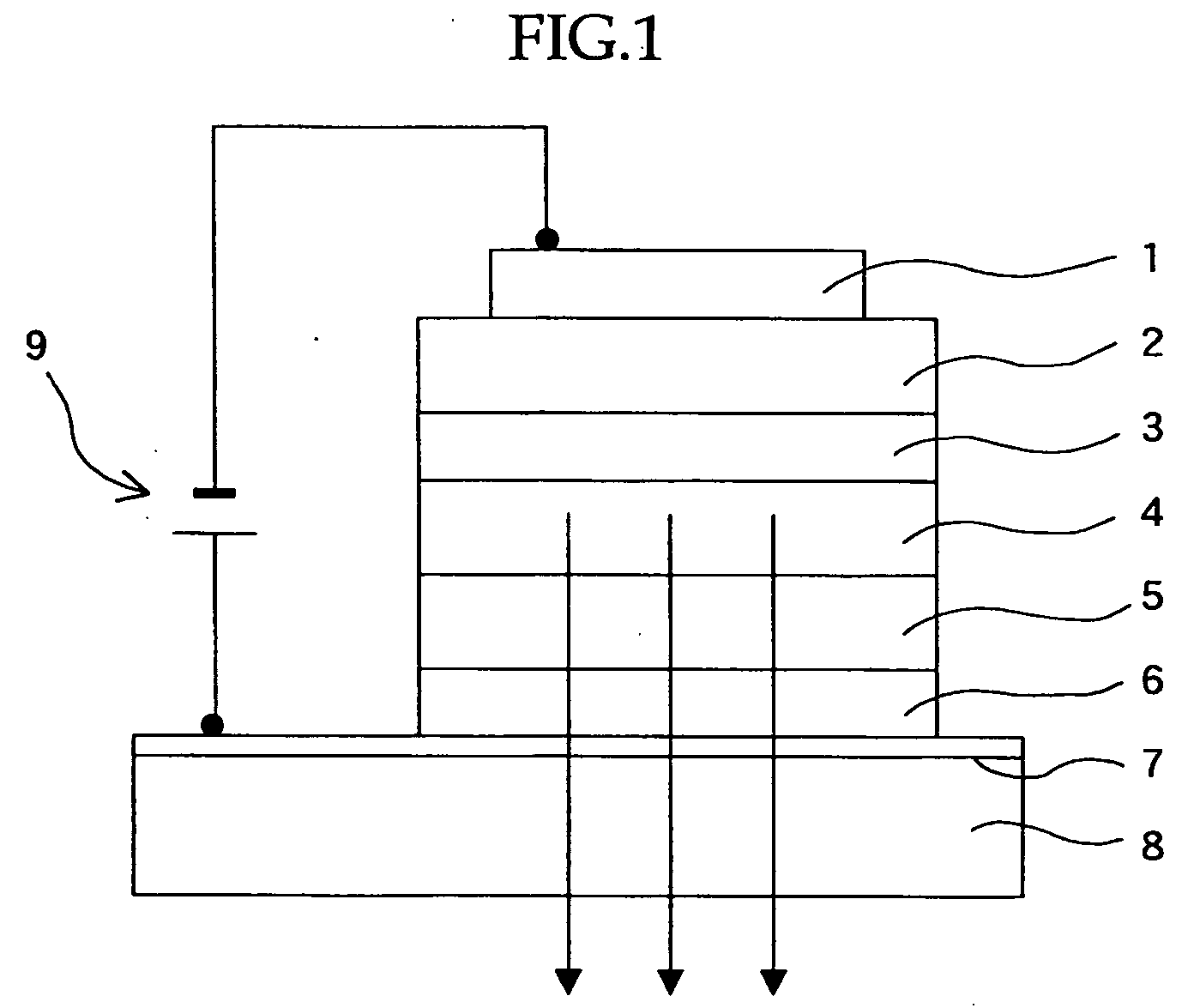
Organic electroluminescent material, organic electroluminescent device, and heterocycle-containing iridium complex compound
授权日
1900-01-01
公开(公告)号
EP1486552A1
申请日
2004-06-08
公开(公告)日
2004-12-15
当前申请(专利权)人
SONY CORPORATION
发明人
TAKADA, ICHINORI | ISHIBASHI, TADASHI | YAMADA, JIRO | TAMURA, SHINICHIRO
简单同族
CN100471930C | CN1618926A | DE602004010746D1 | DE602004010746T2 | EP1486552A1 | EP1486552B1 | JP2005002053A | JP4203732B2 | KR1020040106236A | TW200510506A | TWI280267B | US20050008895A1
简单同族成员数量
12
简单同族被引用专利总数
85
诉讼案件数
0
法律状态/事件
权利终止
抱歉,您的浏览器不支持PDF预览,请点击链接下载PDF文件