专利数据库
统计分析
产业报告
专利数据监控
产业人才
行业动态
产业政策法规
维权援助
个人中心
详情
文本
图像
标题
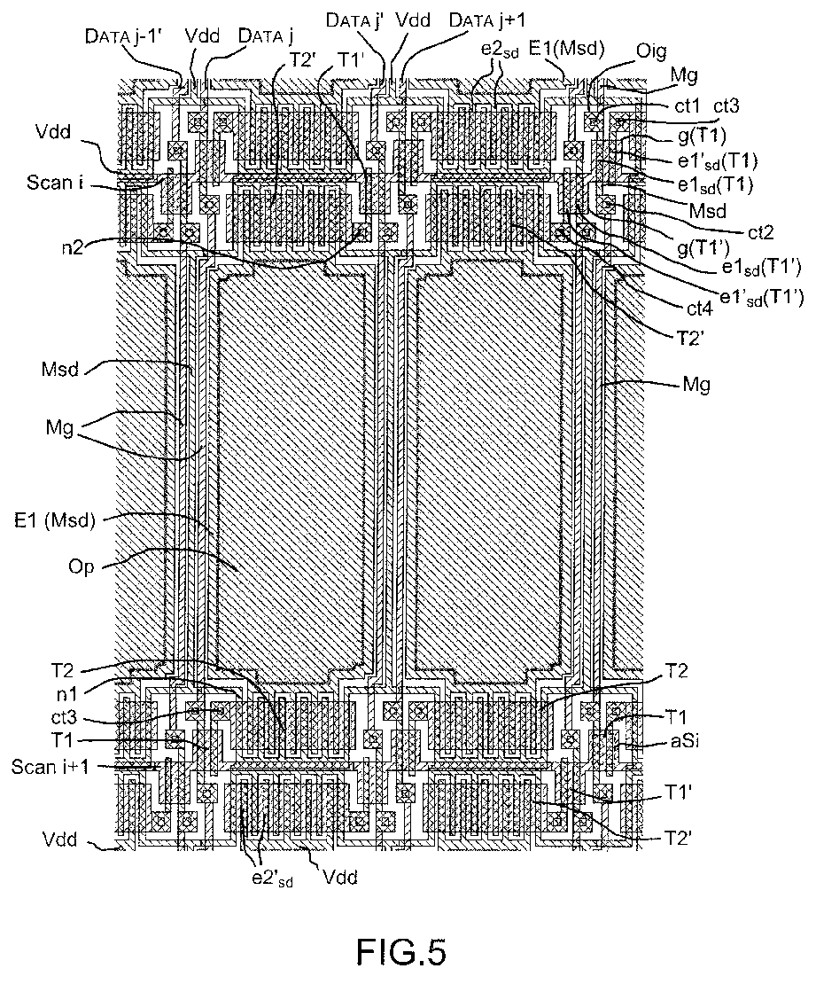
Active matrix of an organic electroluminescent display
授权日
1900-01-01
公开(公告)号
EP1970961A1
申请日
2008-03-14
公开(公告)日
2008-09-17
当前申请(专利权)人
THALES
发明人
KRETZ, THIERRY | LEBRUN, HUGUES | CHUITON, ELISABETH
简单同族
EP1970961A1 | EP1970961B1 | FR2913818A1 | FR2913818B1 | JP2008292983A | JP5560487B2 | KR101486081B1 | KR1020080084770A | US20080231556A1 | US8040299
简单同族成员数量
10
简单同族被引用专利总数
57
诉讼案件数
0
法律状态/事件
授权
抱歉,您的浏览器不支持PDF预览,请点击链接下载PDF文件