专利数据库
统计分析
产业报告
专利数据监控
产业人才
行业动态
产业政策法规
维权援助
个人中心
详情
文本
图像
标题
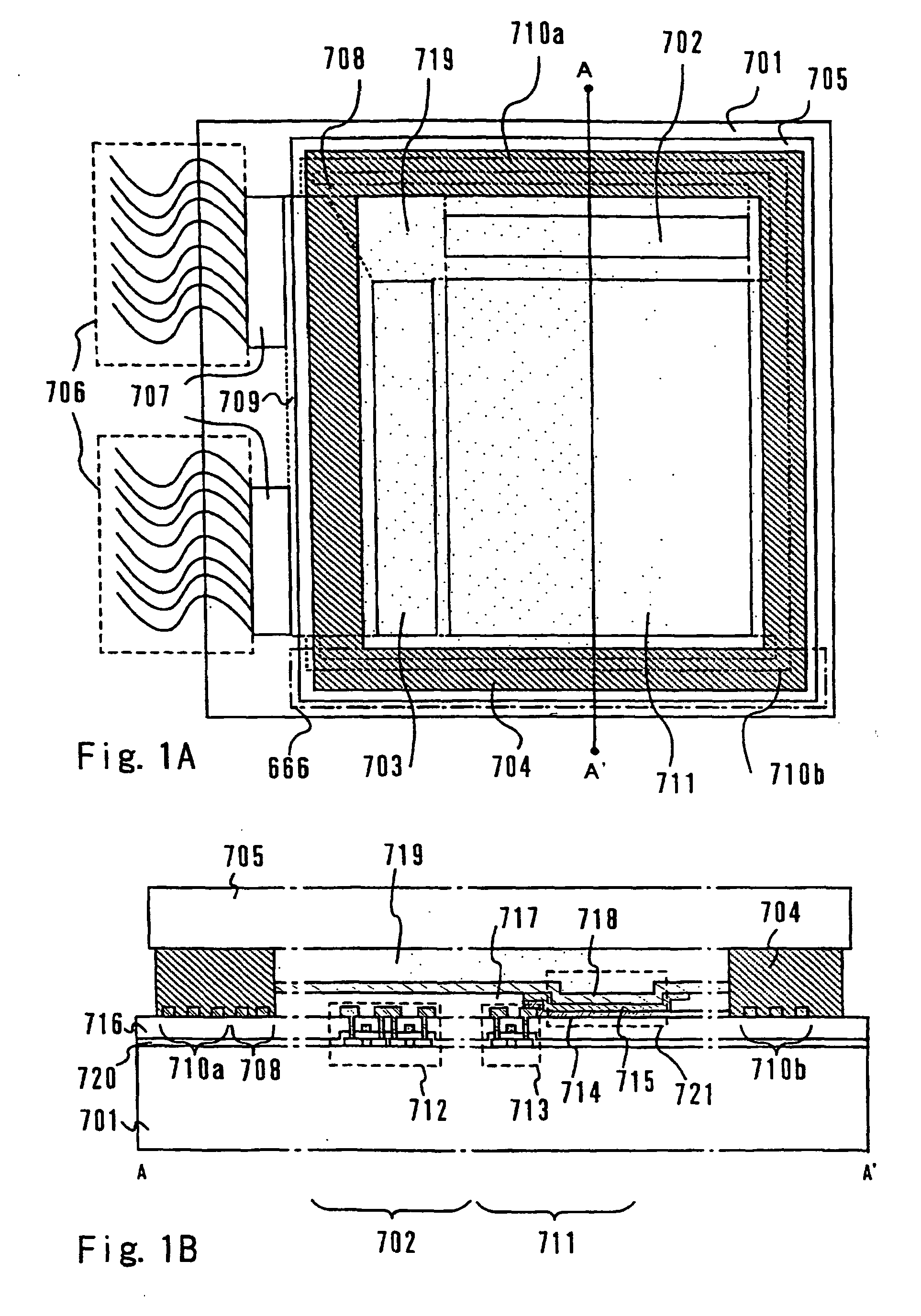
Wiring and Sealing Scheme for an Active Matrix Electroluminescent Display Device
授权日
2012-03-28
公开(公告)号
EP1176457B1
申请日
2001-07-25
公开(公告)日
2012-03-28
当前申请(专利权)人
SEMICONDUCTOR ENERGY LABORATORY CO., LTD.
发明人
YAMAZAKI, SHUNPAI | KOYAMA, JUN | OSAME, MITSUAKI | INUKAI, KAZUTAKA
简单同族
CN100530750C | CN1265340C | CN1338712A | CN1642369A | EP1176457A2 | EP1176457A3 | EP1176457B1 | EP2275860A2 | EP2275860A3 | EP2275860B1 | JP2010250337A | JP2011054570A | JP2012043803A | JP4672085B2 | JP4897079B2 | JP4969697B2 | KR100746656B1 | KR1020020009498A | TW519606B | US20020011975A1 | US7019718
简单同族成员数量
21
简单同族被引用专利总数
130
诉讼案件数
0
法律状态/事件
权利终止
抱歉,您的浏览器不支持PDF预览,请点击链接下载PDF文件