专利数据库
统计分析
产业报告
专利数据监控
产业人才
行业动态
产业政策法规
维权援助
个人中心
详情
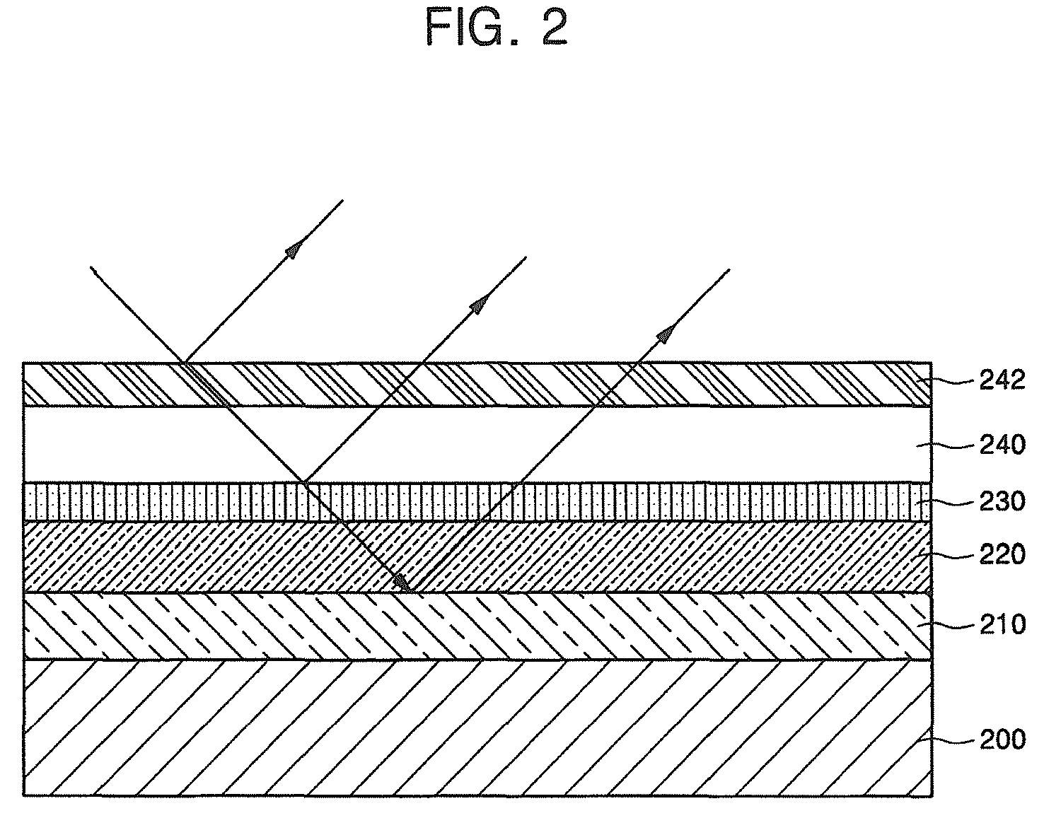
文本
图像
标题
Flat panel display and method of fabricating the same
授权日
1900-01-01
公开(公告)号
EP1662574A2
申请日
2005-11-28
公开(公告)日
2006-05-31
当前申请(专利权)人
SAMSUNG MOBILE DISPLAY CO., LTD.
发明人
LEE, KWAN-HEE, SAMSUNG SDI CO., LTD. | IM, JA-HYUN, SAMSUNG SDI CO., LTD.
简单同族
CN100525565C | CN1805636A | DE602005023570D1 | EP1662574A2 | EP1662574A3 | EP1662574B1 | JP2006156396A | JP4856936B2 | KR100601381B1 | KR1020060059721A | US20060113529A1 | US7495385
简单同族成员数量
12
简单同族被引用专利总数
49
诉讼案件数
0
法律状态/事件
授权 | 权利转移
抱歉,您的浏览器不支持PDF预览,请点击链接下载PDF文件