专利数据库
统计分析
产业报告
专利数据监控
产业人才
行业动态
产业政策法规
维权援助
个人中心
详情
文本
图像
标题
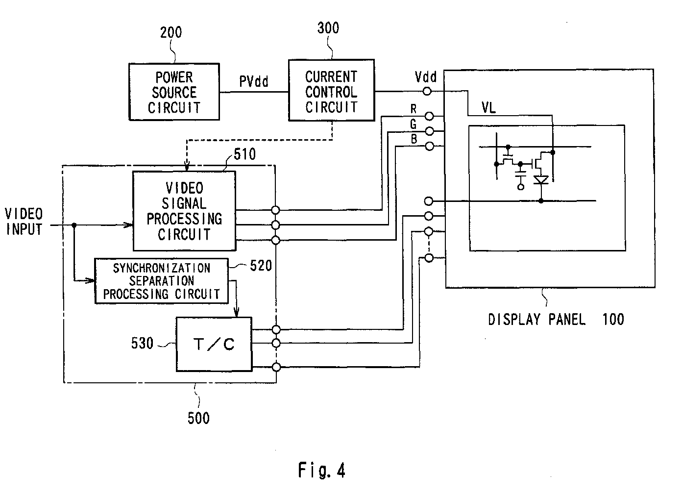
Display device having driven-by-current type emissive element
授权日
1900-01-01
公开(公告)号
EP1237143A3
申请日
2002-02-26
公开(公告)日
2003-02-05
当前申请(专利权)人
SANYO ELECTRIC CO., LTD.
发明人
KOMIYA, NAOAKI
简单同族
CN1249658C | CN1372240A | EP1237143A2 | EP1237143A3 | JP2002251167A | KR1020020069488A | TW520613B | US20020175635A1 | US6690117
简单同族成员数量
9
简单同族被引用专利总数
95
诉讼案件数
0
法律状态/事件
撤回
抱歉,您的浏览器不支持PDF预览,请点击链接下载PDF文件