专利数据库
统计分析
产业报告
专利数据监控
产业人才
行业动态
产业政策法规
维权援助
个人中心
详情
文本
图像
标题
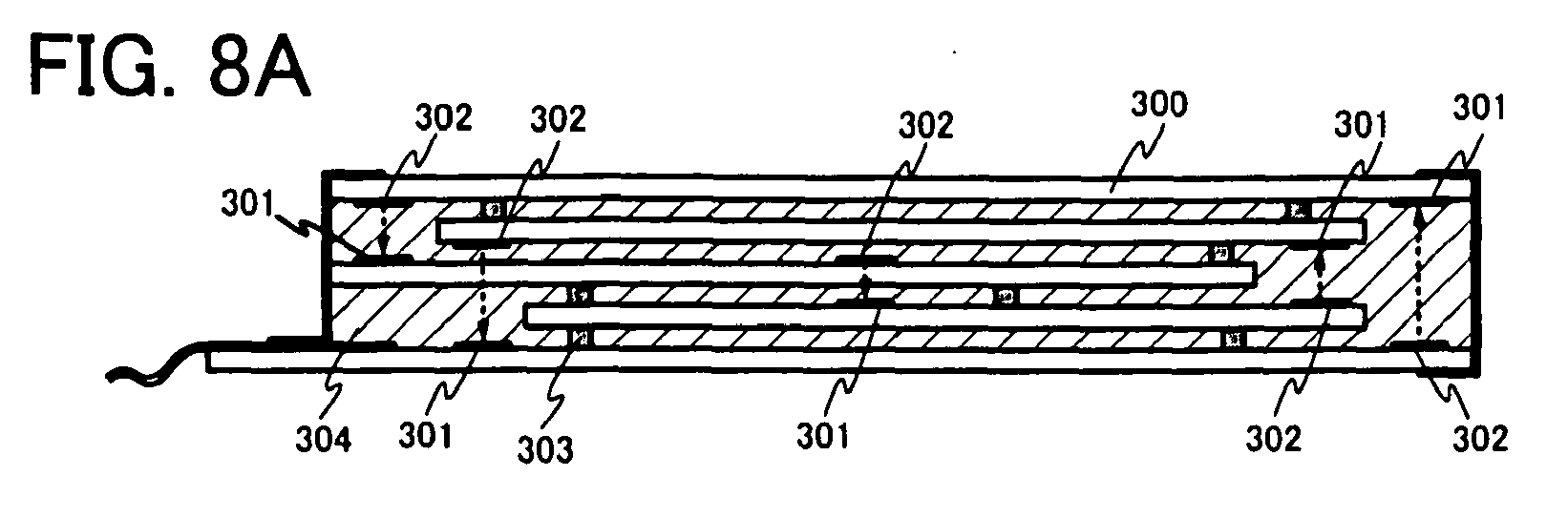
Oled display with optical interconnect between driving plane and display plane
授权日
1900-01-01
公开(公告)号
EP2312566A3
申请日
2003-05-13
公开(公告)日
2011-08-31
当前申请(专利权)人
SEMICONDUCTOR ENERGY LABORATORY CO., LTD.
发明人
YAMAZAKI, SHUNPEI | KATO, KIYOSHI | ARAI, YASUYUKI | AKIBA, MAI
简单同族
CN100341158C | CN101122660A | CN1458695A | EP1363149A2 | EP1363149A3 | EP2312566A2 | EP2312566A3 | JP2003332560A | JP2003332560A5 | KR1020030088372A | TW200308098A | TWI279004B | US20040007706A1 | US7342258
简单同族成员数量
14
简单同族被引用专利总数
48
诉讼案件数
0
法律状态/事件
撤回
抱歉,您的浏览器不支持PDF预览,请点击链接下载PDF文件