专利数据库
统计分析
产业报告
专利数据监控
产业人才
行业动态
产业政策法规
维权援助
个人中心
详情
文本
图像
标题
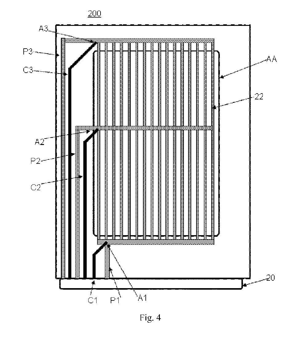
OLED display device
授权日
1900-01-01
公开(公告)号
EP2816546A1
申请日
2013-11-22
公开(公告)日
2014-12-24
当前申请(专利权)人
SHANGHAI TIANMA MICRO-ELECTRONICS CO., LTD. | TIANMA MICRO-ELECTRONICS CO., LTD.
发明人
GU, HANYU | TSENG, CHANG-HO
简单同族
CN103927968A | CN103927968B | EP2816546A1 | EP2816546B1 | US20140368416A1 | US9269302
简单同族成员数量
6
简单同族被引用专利总数
52
诉讼案件数
0
法律状态/事件
授权
抱歉,您的浏览器不支持PDF预览,请点击链接下载PDF文件