专利数据库
统计分析
产业报告
专利数据监控
产业人才
行业动态
产业政策法规
维权援助
个人中心
详情
文本
图像
标题
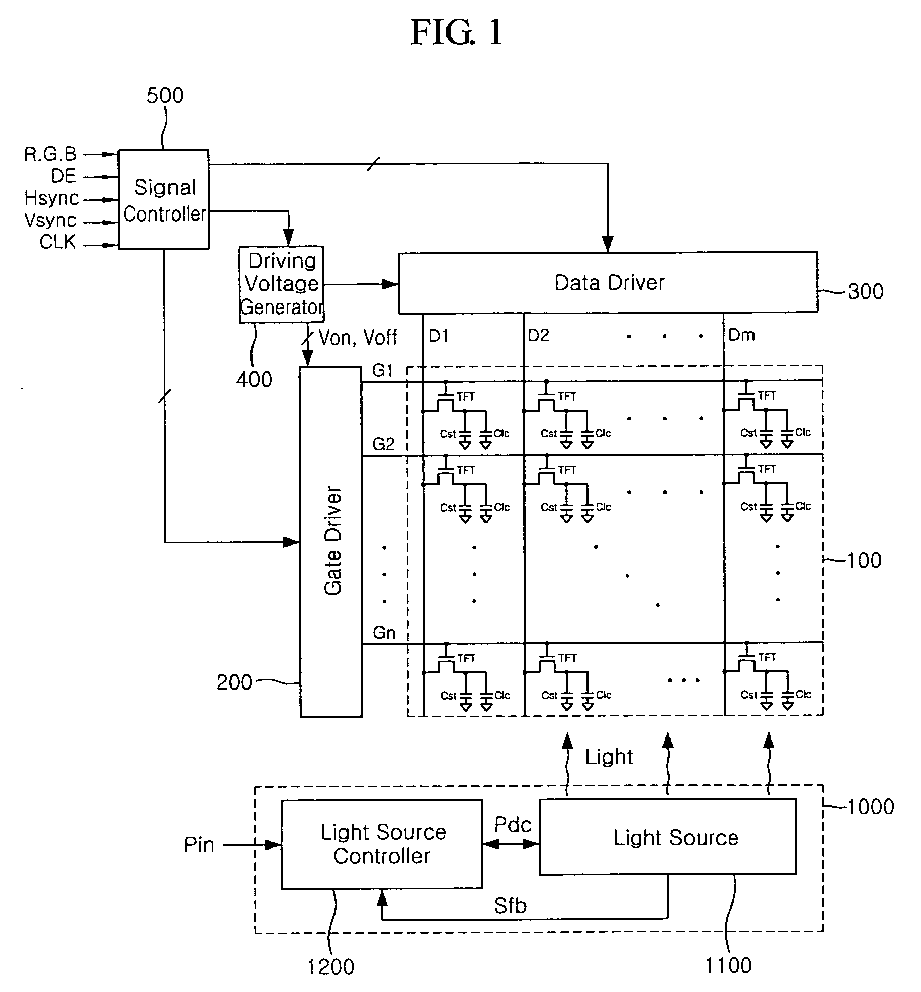
Light-source module for display device and display device having the same
授权日
1900-01-01
公开(公告)号
EP2017813A2
申请日
2008-07-15
公开(公告)日
2009-01-21
当前申请(专利权)人
SAMSUNG ELECTRONICS CO., LTD.
发明人
YE, BYOUNG-DAE | KIM, GI-CHERL | KANG, EUI-JEONG
简单同族
CN101350176A | EP2017813A2 | EP2017813A3 | JP2009026734A | KR101473807B1 | KR1020090009585A | US20090021183A1 | US7999785
简单同族成员数量
8
简单同族被引用专利总数
53
诉讼案件数
0
法律状态/事件
撤回 | 权利转移
抱歉,您的浏览器不支持PDF预览,请点击链接下载PDF文件