专利数据库
统计分析
产业报告
专利数据监控
产业人才
行业动态
产业政策法规
维权援助
个人中心
详情
文本
图像
标题
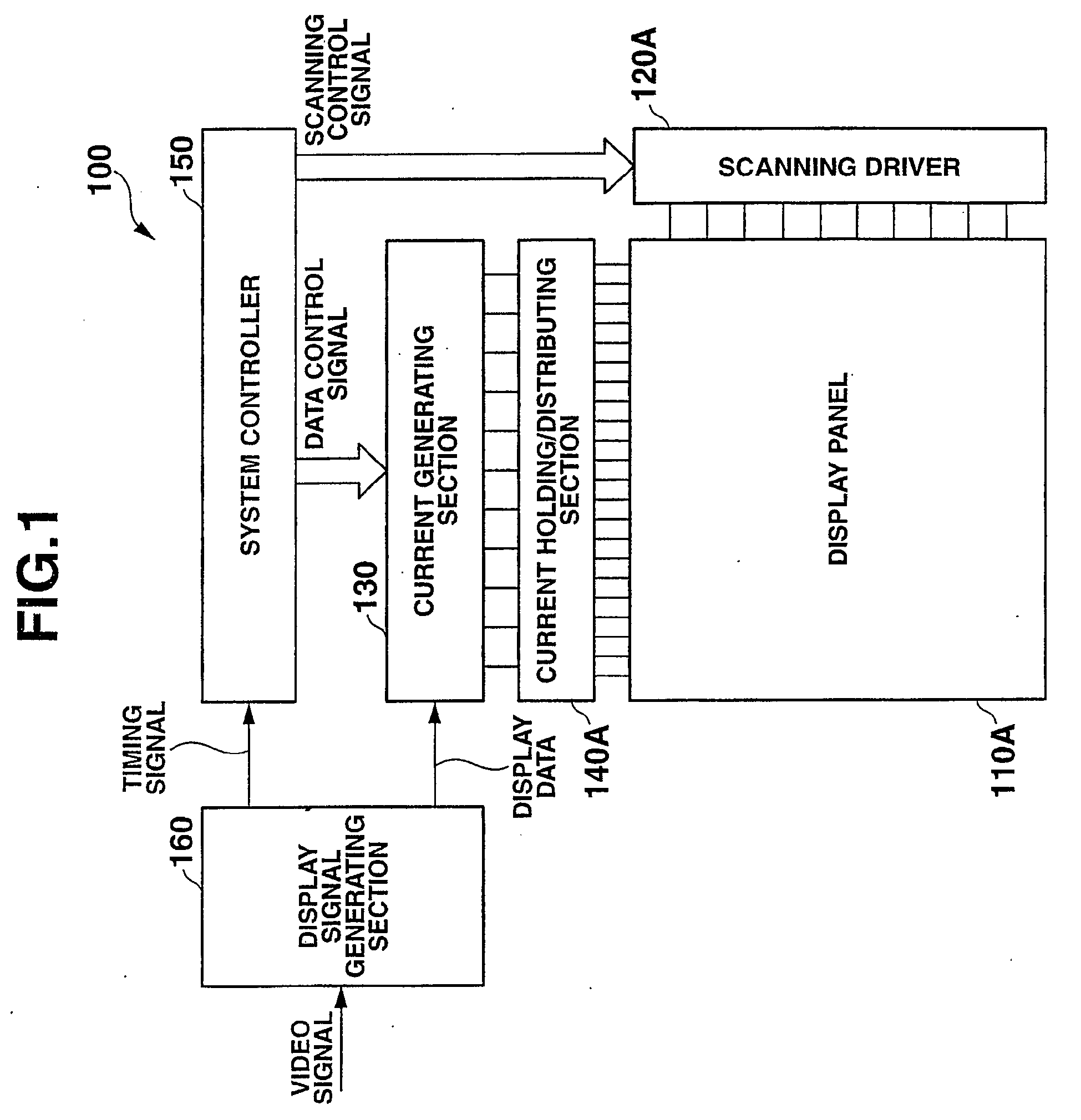
OLED display with ping pong current driving circuit and simultaneous scanning of lines
授权日
2016-01-20
公开(公告)号
EP1649442B1
申请日
2005-05-26
公开(公告)日
2016-01-20
当前申请(专利权)人
CASIO COMPUTER CO., LTD.
发明人
SHIRASAKI, TOMOYUKI | OZAKI, TSUYOSHI | OGURA, JUN
简单同族
EP1649442A1 | EP1649442B1 | HK1096482A1 | KR1020060041252A | TW200603034A | TWI316216B | US20050264500A1 | US7944414 | WO2005116968A1
简单同族成员数量
9
简单同族被引用专利总数
82
诉讼案件数
0
法律状态/事件
授权
抱歉,您的浏览器不支持PDF预览,请点击链接下载PDF文件