专利数据库
统计分析
产业报告
专利数据监控
产业人才
行业动态
产业政策法规
维权援助
个人中心
详情
文本
图像
标题
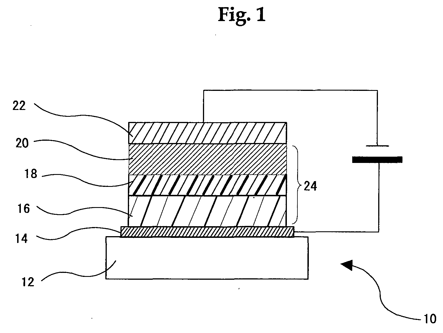
Organic EL element and organic EL display
授权日
1900-01-01
公开(公告)号
EP1345278A2
申请日
2002-10-17
公开(公告)日
2003-09-17
当前申请(专利权)人
FUJIFILM CORPORATION
发明人
SOTOYAMA, WATARU, C/O FUJITSU LTD. | MATSUURA, AZUMA, C/O FUJITSU LTD. | SATO, HIROYUKI, C/O FUJITSU LTD. | NARUSAWA, TOSHIAKI, C/O FUJITSU LTD.
简单同族
AT405954T | DE60228401D1 | EP1345278A2 | EP1345278A3 | EP1345278B1 | JP2003272864A | JP3825344B2 | KR100917958B1 | KR1020030074081A | TWI226360B | US20030186081A1 | US6803126
简单同族成员数量
12
简单同族被引用专利总数
60
诉讼案件数
0
法律状态/事件
权利终止 | 权利转移
抱歉,您的浏览器不支持PDF预览,请点击链接下载PDF文件