专利数据库
统计分析
产业报告
专利数据监控
产业人才
行业动态
产业政策法规
维权援助
个人中心
详情
文本
图像
标题
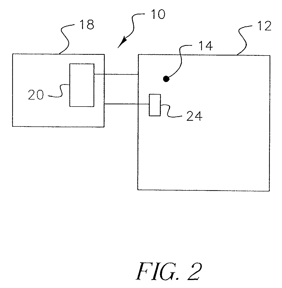
Active matrix organic light emitting diode flat-panel display
授权日
1900-01-01
公开(公告)号
EP1260959A3
申请日
2002-05-03
公开(公告)日
2006-06-28
当前申请(专利权)人
EASTMAN KODAK COMPANY
发明人
COK, RONALD STEVEN
简单同族
EP1260959A2 | EP1260959A3 | JP2003015606A | KR1020020087357A | TWI303796B | US20020171611A1
简单同族成员数量
6
简单同族被引用专利总数
46
诉讼案件数
0
法律状态/事件
撤回
抱歉,您的浏览器不支持PDF预览,请点击链接下载PDF文件