专利数据库
统计分析
产业报告
专利数据监控
产业人才
行业动态
产业政策法规
维权援助
个人中心
详情
文本
图像
标题
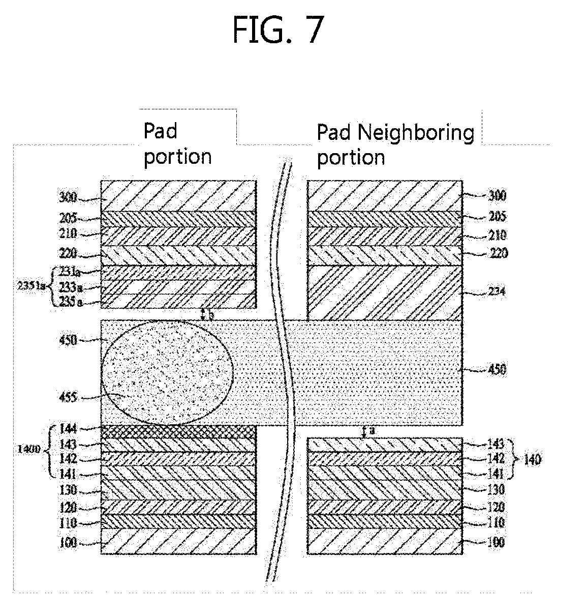
Organic light emitting display and method for manufacturing the same
授权日
1900-01-01
公开(公告)号
EP2698821A3
申请日
2012-12-24
公开(公告)日
2014-10-29
当前申请(专利权)人
LG DISPLAY CO., LTD.
发明人
CHOI, HO-WON | KIM, JIN-YEOL
简单同族
CN103594483A | CN103594483B | EP2698821A2 | EP2698821A3 | EP2698821B1 | JP2014039003A | JP5670994B2 | KR101469485B1 | KR1020140022223A | TW201407765A | TWI517377B | US20140042398A1 | US20150011030A1 | US8872168 | US9184409
简单同族成员数量
15
简单同族被引用专利总数
83
诉讼案件数
0
法律状态/事件
授权
抱歉,您的浏览器不支持PDF预览,请点击链接下载PDF文件