专利数据库
统计分析
产业报告
专利数据监控
产业人才
行业动态
产业政策法规
维权援助
个人中心
详情
文本
图像
标题
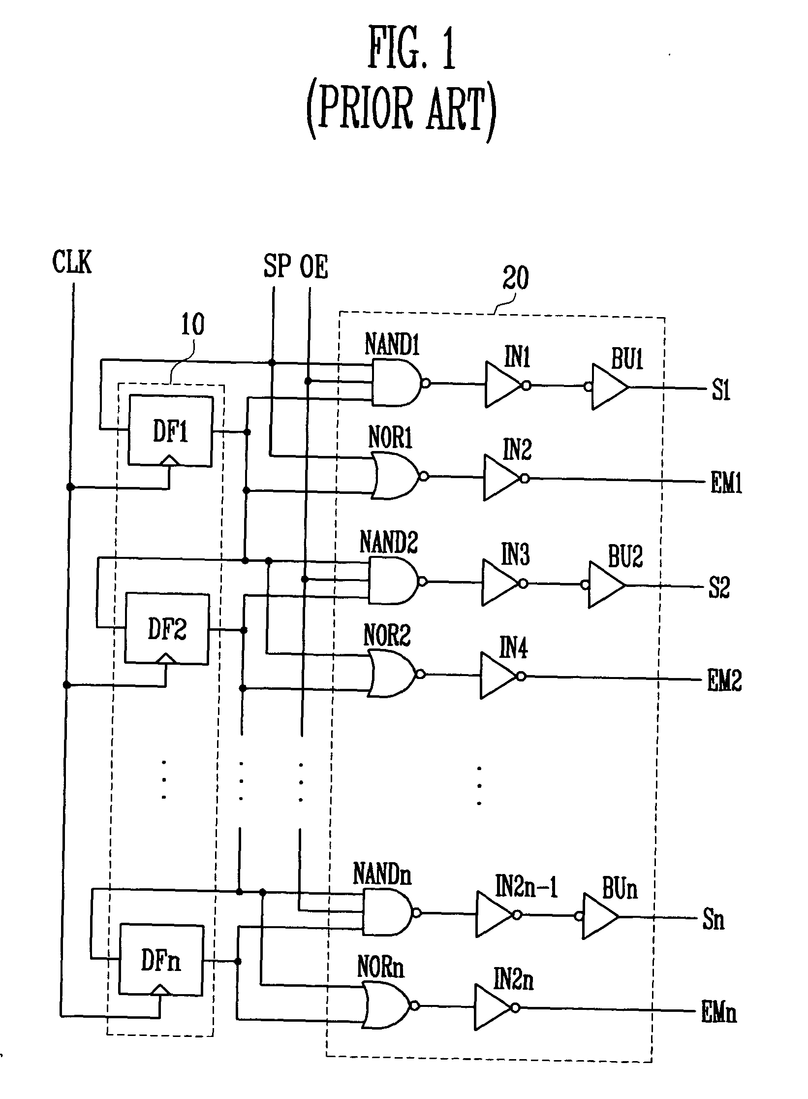
Scan driver, organic light emitting display using the same, and method of driving the organic light emitting display
授权日
2010-06-02
公开(公告)号
EP1717790B1
申请日
2006-04-26
公开(公告)日
2010-06-02
当前申请(专利权)人
SAMSUNG MOBILE DISPLAY CO., LTD.
发明人
CHOI, SANG MOO, SAMSUNG SDI CO., LTD.
简单同族
CN1855200A | CN1855200B | DE602006014615D1 | EP1717790A2 | EP1717790A3 | EP1717790A8 | EP1717790B1 | JP2006309217A | JP4504939B2 | KR100645700B1 | KR1020060112994A | US20060248421A1 | US8125422
简单同族成员数量
13
简单同族被引用专利总数
75
诉讼案件数
0
法律状态/事件
授权 | 权利转移
抱歉,您的浏览器不支持PDF预览,请点击链接下载PDF文件