专利数据库
统计分析
产业报告
专利数据监控
产业人才
行业动态
产业政策法规
维权援助
个人中心
详情
文本
图像
标题
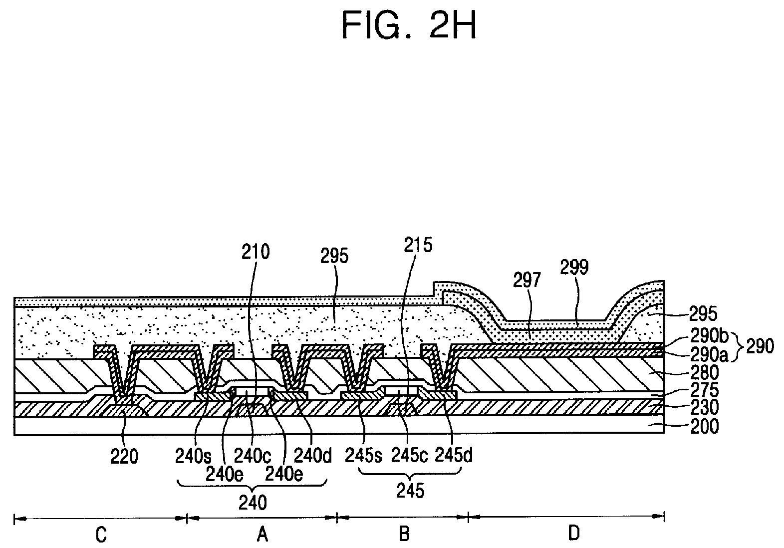
Organic light emitting display device and method of fabricating the same
授权日
1900-01-01
公开(公告)号
EP1737056A2
申请日
2006-06-21
公开(公告)日
2006-12-27
当前申请(专利权)人
SAMSUNG DISPLAY CO., LTD.
发明人
HWANG, EUI-HOON SAMSUNG SDI CO.,LTD. | LEE, SANG-GUL SAMSUNG SDI CO., LTD.
简单同族
CN100481489C | CN1897299A | EP1737056A2 | EP1737056A3 | EP1737056B1 | JP2007005807A | JP4738265B2 | KR100712295B1 | KR1020060134471A | US20060290828A1 | US8278664
简单同族成员数量
11
简单同族被引用专利总数
49
诉讼案件数
0
法律状态/事件
授权 | 权利转移
抱歉,您的浏览器不支持PDF预览,请点击链接下载PDF文件