专利数据库
统计分析
产业报告
专利数据监控
产业人才
行业动态
产业政策法规
维权援助
个人中心
详情
文本
图像
标题
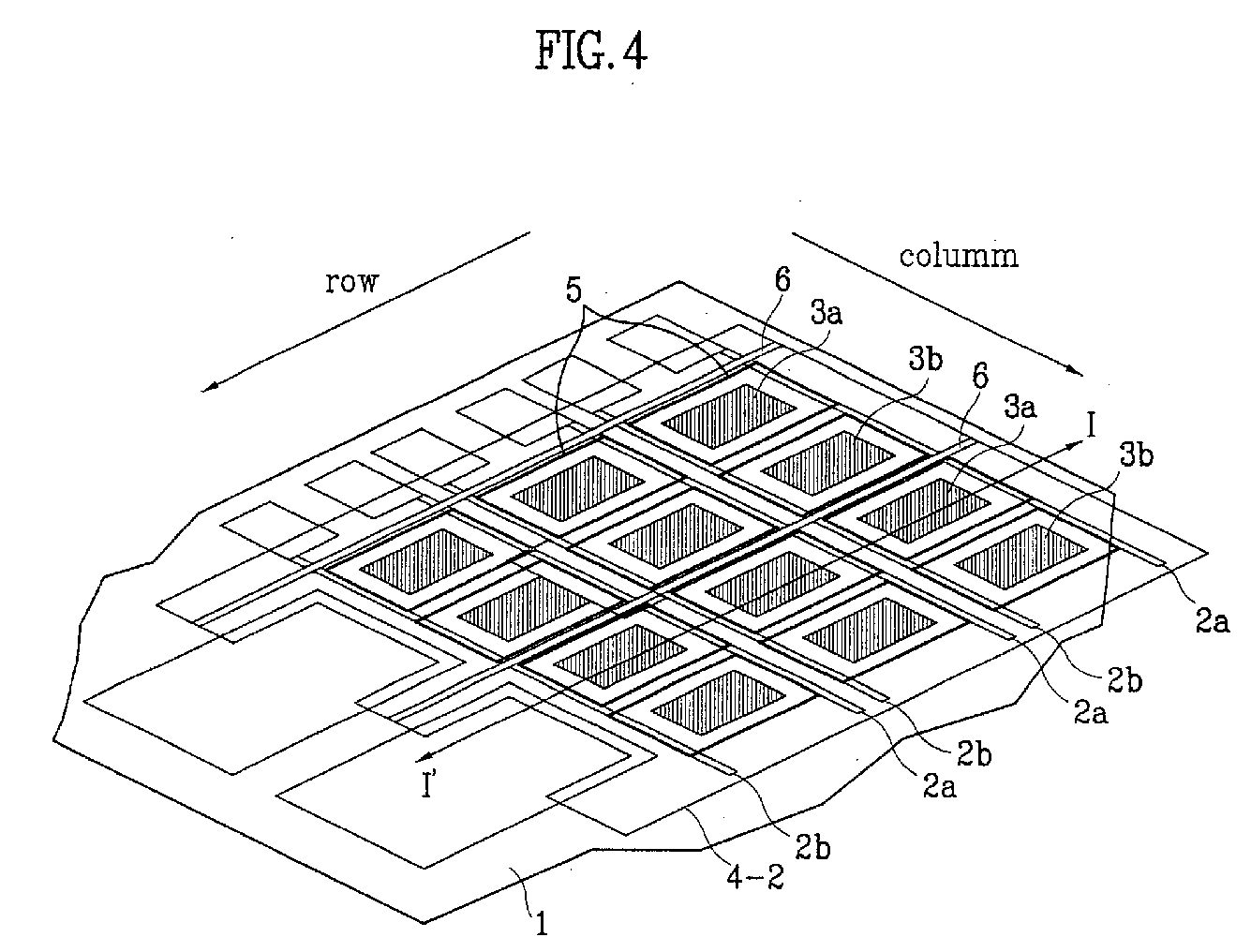
Organic electroluminescence display panel and fabrication method thereof
授权日
1900-01-01
公开(公告)号
EP1286397A3
申请日
2002-08-21
公开(公告)日
2006-10-25
当前申请(专利权)人
LG ELECTRONICS INC.
发明人
KIM, CHANG NAM
简单同族
CN1207942C | CN1416302A | EP1286397A2 | EP1286397A3 | JP2003077685A | JP2008071770A | JP4287104B2 | JP4931783B2 | KR100404204B1 | KR1020030017696A | US20030038591A1 | US6930448
简单同族成员数量
12
简单同族被引用专利总数
64
诉讼案件数
0
法律状态/事件
撤回
抱歉,您的浏览器不支持PDF预览,请点击链接下载PDF文件