专利数据库
统计分析
产业报告
专利数据监控
产业人才
行业动态
产业政策法规
维权援助
个人中心
详情
文本
图像
标题
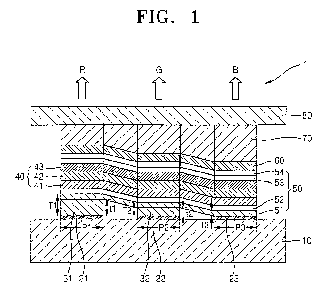
Organic light-emitting display device
授权日
1900-01-01
公开(公告)号
EP2296203A3
申请日
2010-09-15
公开(公告)日
2013-12-04
当前申请(专利权)人
SAMSUNG DISPLAY CO., LTD.
发明人
JO. JAE YOUNG
简单同族
CN102024844A | CN102024844B | EP2296203A2 | EP2296203A3 | JP2011065992A | KR101058109B1 | KR1020110029311A | US20110062475A1 | US8288784
简单同族成员数量
9
简单同族被引用专利总数
135
诉讼案件数
0
法律状态/事件
撤回 | 权利转移
抱歉,您的浏览器不支持PDF预览,请点击链接下载PDF文件