专利数据库
统计分析
产业报告
专利数据监控
产业人才
行业动态
产业政策法规
维权援助
个人中心
详情
文本
图像
标题
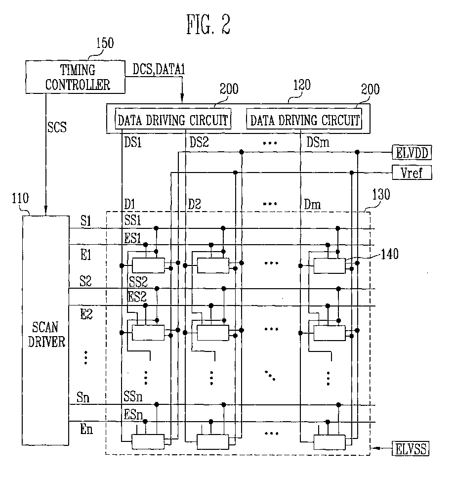
Data driving circuits and organic light emitting diode display using the same
授权日
1900-01-01
公开(公告)号
EP1750247A3
申请日
2006-08-01
公开(公告)日
2008-01-23
当前申请(专利权)人
IUCF-HYU (INDUSTRY-UNIVERSITY COOPERATION FOUNDATI | SAMSUNG DISPLAY CO., LTD.
发明人
CHUNG, BO YONG SAMSUNG SDI CO. LTD. | RYU, DO HYUNG SAMSUNG SDI CO. LTD. | KWON, OH KYONG SAMSUNG SDI CO. LTD.
简单同族
CN1909047A | CN1909047B | EP1750247A2 | EP1750247A3 | JP2007041523A | JP4890917B2 | KR100703492B1 | KR1020070015828A | US20070085781A1 | US7893898
简单同族成员数量
10
简单同族被引用专利总数
65
诉讼案件数
0
法律状态/事件
驳回 | 权利转移
抱歉,您的浏览器不支持PDF预览,请点击链接下载PDF文件