专利数据库
统计分析
产业报告
专利数据监控
产业人才
行业动态
产业政策法规
维权援助
个人中心
详情
文本
图像
标题
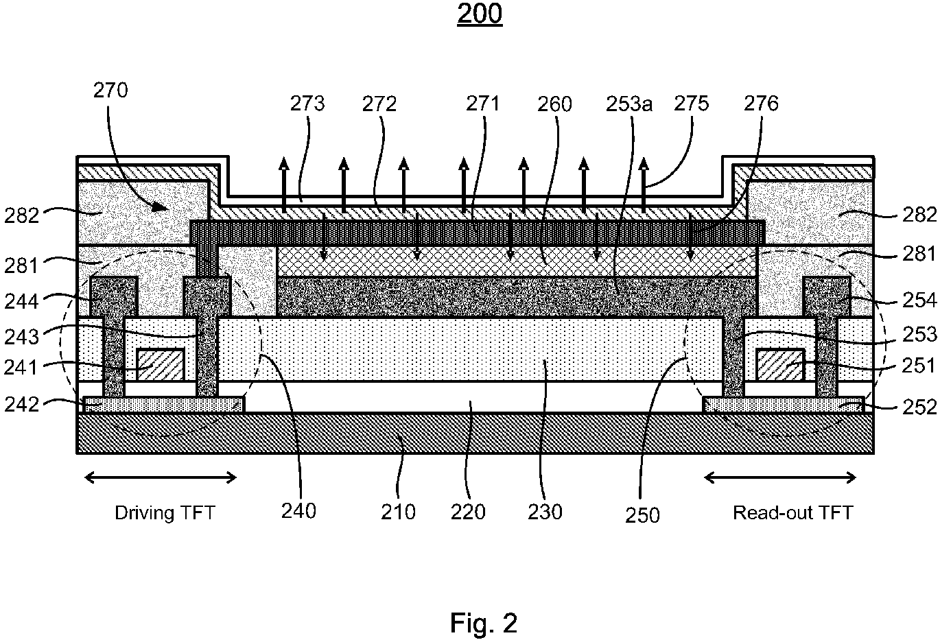
Amoled display with optical feedback compensation
授权日
1900-01-01
公开(公告)号
EP2998996A3
申请日
2010-08-16
公开(公告)日
2016-04-06
当前申请(专利权)人
AU OPTRONICS CORPORATION
发明人
KUO, TZU-YIN | TSAI, TSUNG-TING
简单同族
CN101976679A | CN101976679B | EP2365529A2 | EP2365529A3 | EP2365529B1 | EP2998996A2 | EP2998996A3 | EP2998996B1 | EP3499575A1 | TW201131752A | TWI496279B | US20110221720A1 | US20140125643A1 | US8669924 | US9007353
简单同族成员数量
15
简单同族被引用专利总数
63
诉讼案件数
0
法律状态/事件
授权
抱歉,您的浏览器不支持PDF预览,请点击链接下载PDF文件